(时间表达式)定时任务Quartz 之 cron表达式及在线生成器
表达式生成器有很多的cron表达式在线生成器,这里给大家推荐几款http://cron.qqe2.com/或者https://www.matools.com/cron/Cron表达式简介Cron表达式是一个字符串,字符串以5或6个空格隔开,分为6或7个域,每一个域代表一个含义,Cron有如下两种语法格式:(1) Seconds Minutes Hours DayofMonth Month Dayo
表达式生成器
有很多的cron表达式在线生成器,这里给大家推荐几款
http://cron.qqe2.com/
或者
https://www.matools.com/cron/
Cron表达式简介
Cron表达式是一个字符串,字符串以5或6个空格隔开,分为6或7个域,每一个域代表一个含义,Cron有如下两种语法格式:
(1) Seconds Minutes Hours DayofMonth Month DayofWeek Year
(2)Seconds Minutes Hours DayofMonth Month DayofWeek
结构
corn从左到右(用空格隔开):秒 分 小时 月份中的日期 月份 星期中的日期 年份(可为空)
例 “0 0 12 ? * WED” 在每星期三下午12:00 执行(年份通常 省略)
各字段的含义

通配符说明
星号(*):可用在所有字段中,表示对应时间域的每一个时刻,例如, 在分钟字段时,表示“每分钟”;
问号(?):该字符只在日期和星期字段中使用,它通常指定为“无意义的值”,相当于点位符;
减号(-):表达一个范围,如在小时字段中使用“10-12”,则表示从10到12点,即10,11,12;
逗号(,):表达一个列表值,如在星期字段中使用“MON,WED,FRI”,则表示星期一,星期三和星期五;
斜杠(/):x/y表达一个等步长序列,x为起始值,y为增量步长值。如在分钟字段中使用0/15,则表示为0,15,30和45秒,而5/15在分钟字段中表示5,20,35,50,你也可以使用*/y,它等同于0/y;
L:该字符只在日期和星期字段中使用,代表“Last”的意思,但它在两个字段中意思不同。L在日期字段中,表示这个月份的最后一天,如一月的31号,非闰年二月的28号;如果L用在星期中,则表示星期六,等同于7。但是,如果L出现在星期字段里,而且在前面有一个数值X,则表示“这个月的最后X天”,例如,6L表示该月的最后星期五;
W:该字符只能出现在日期字段里,是对前导日期的修饰,表示离该日期最近的工作日。例如15W表示离该月15号最近的工作日,如果该月15号是星期六,则匹配14号星期五;如果15日是星期日,则匹配16号星期一;如果15号是星期二,那结果就是15号星期二。但必须注意关联的匹配日期不能够跨月,如你指定1W,如果1号是星期六,结果匹配的是3号星期一,而非上个月最后的那天。W字符串只能指定单一日期,而不能指定日期范围;
LW组合:在日期字段可以组合使用LW,它的意思是当月的最后一个工作日;
井号(#):该字符只能在星期字段中使用,表示当月某个工作日。如6#3表示当月的第三个星期五(6表示星期五,#3表示当前的第三个),而4#5表示当月的第五个星期三,假设当月没有第五个星期三,忽略不触发;
C:该字符只在日期和星期字段中使用,代表“Calendar”的意思。它的意思是计划所关联的日期,如果日期没有被关联,则相当于日历中所有日期。例如5C在日期字段中就相当于日历5日以后的第一天。1C在星期字段中相当于星期日后的第一天。
Cron表达式对特殊字符的大小写不敏感,对代表星期的缩写英文大小写也不敏感。
一些例子:

注意:
(1)有些子表达式能包含一些范围或列表
例如:子表达式(天(星期))可以为 “MON-FRI”,“MON,WED,FRI”,“MON-WED,SAT”
“*”字符代表所有可能的值
因此,“”在子表达式(月)里表示每个月的含义,“”在子表达式(天(星期))表示星期的每一天
“/”字符用来指定数值的增量
例如:在子表达式(分钟)里的“0/15”表示从第0分钟开始,每15分钟
在子表达式(分钟)里的“3/20”表示从第3分钟开始,每20分钟(它和“3,23,43”)的含义一样
“?”字符仅被用于天(月)和天(星期)两个子表达式,表示不指定值
当2个子表达式其中之一被指定了值以后,为了避免冲突,需要将另一个子表达式的值设为“?”
“L” 字符仅被用于天(月)和天(星期)两个子表达式,它是单词“last”的缩写
但是它在两个子表达式里的含义是不同的。
在天(月)子表达式中,“L”表示一个月的最后一天
在天(星期)自表达式中,“L”表示一个星期的最后一天,也就是SAT
如果在“L”前有具体的内容,它就具有其他的含义了
例如:“6L”表示这个月的倒数第6天,“FRIL”表示这个月的最一个星期五
注意:在使用“L”参数时,不要指定列表或范围,因为这会导致问题
cron表达式
字段 允许值 允许的特殊字符
秒 0-59 , - * /
分 0-59 , - * /
小时 0-23 , - * /
日期 1-31 , - * ? / L W C
月份 1-12 或者 JAN-DEC , - * /
星期 1-7 或者 SUN-SAT , - * ? / L C #
年(可选) 留空, 1970-2099 , - * /
表达式意义
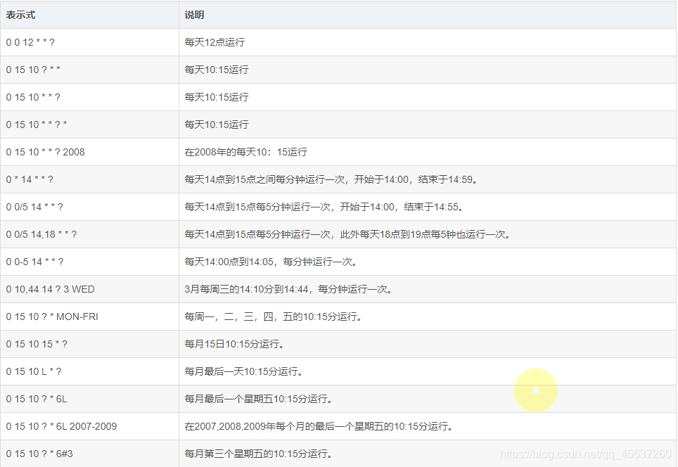
"0 0 12 * * ?" 每天中午12点触发
"0 15 10 ? * *" 每天上午10:15触发
"0 15 10 * * ?" 每天上午10:15触发
"0 15 10 * * ? *" 每天上午10:15触发
"0 15 10 * * ? 2005" 2005年的每天上午10:15触发
"0 * 14 * * ?" 在每天下午2点到下午2:59期间的每1分钟触发
"0 0/5 14 * * ?" 在每天下午2点到下午2:55期间的每5分钟触发
"0 0/5 14,18 * * ?" 在每天下午2点到2:55期间和下午6点到6:55期间的每5分钟触发
"0 0-5 14 * * ?" 在每天下午2点到下午2:05期间的每1分钟触发
"0 10,44 14 ? 3 WED" 每年三月的星期三的下午2:10和2:44触发
"0 15 10 ? * MON-FRI" 周一至周五的上午10:15触发
"0 15 10 15 * ?" 每月15日上午10:15触发
"0 15 10 L * ?" 每月最后一日的上午10:15触发
"0 15 10 ? * 6L" 每月的最后一个星期五上午10:15触发
"0 15 10 ? * 6L 2002-2005" 2002年至2005年的每月的最后一个星期五上午10:15触发
"0 15 10 ? * 6#3" 每月的第三个星期五上午10:15触发
每天早上6点
0 6 * * *
每两个小时
0 */2 * * *
晚上11点到早上8点之间每两个小时,早上八点
0 23-7/2,8 * * *
每个月的4号和每个礼拜的礼拜一到礼拜三的早上11点
0 11 4 * 1-3
1月1日早上4点
0 4 1 1 *
例如我们可以使用spring的@Scheduled注解配置一个定时任务
@Service
//如果嫌xml配置麻烦可以直接使用下面这个注解实现配置
//@EnableScheduling
@Lazy(value = false)
public class ContractService {
@Scheduled(cron = "0/5 * * * * ?")
public void testScheduled() {
System.out.println(getClass() + "执行了定时任务!");
}
}
注意上面类上面的@Lazy,我在测试Demo的时候就是忘记写了它,而导致定时任务没有执行!原因是Spring中的Bean默认都是懒加载的,没有其他对象引用的情况是不会创建实例的。
更多推荐


所有评论(0)