LangGraph 入门:从 Chain 到 Graph 的思想转变
本文介绍了LangGraph作为LangChain生态的新成员,如何实现从DAG(有向无环图)到State Graph(状态图)的范式转变。LangGraph通过引入State(状态)、Node(节点)和Edge(边)三大核心概念,支持循环、自我修正和记忆能力,适用于Agent、多步复杂任务等场景。与LangChain相比,LangGraph更适合需要循环、多Agent协作、人机协同和非确定性路径
随着大语言模型(LLM)应用的不断深入,我们发现单纯的“线性链式”逻辑(Chains)已经难以满足复杂的业务需求。Agent(智能体)的兴起要求系统具备循环、自我修正和记忆能力。
作为 LangChain 生态的最新重要成员,LangGraph 应运而生。本文带你理解从 LangChain (DAG) 到 LangGraph (State Graph) 的核心思想转变。
1. 范式转移:从 DAG 到 State Graph
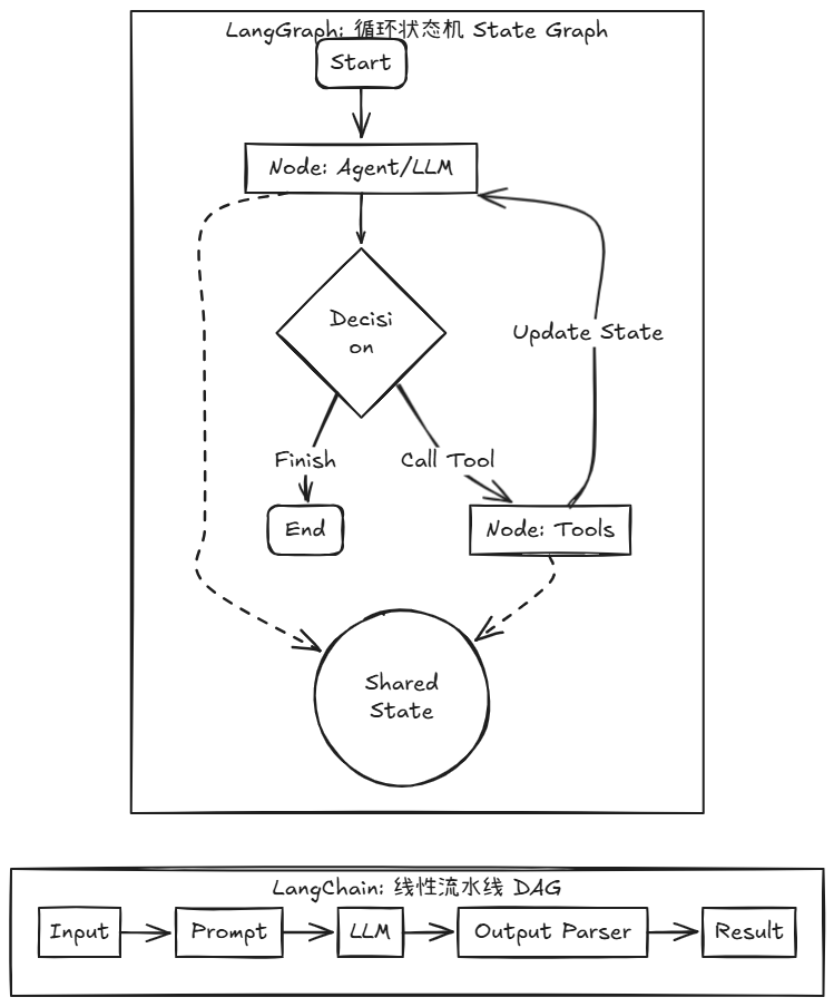
在使用 LangChain(特别是 1.x 版本之前的概念)构建应用时,我们的思维模型通常是 DAG(有向无环图)。
- LangChain (The Chain): 就像一条流水线。数据从输入端进入,经过 PromptTemplate、LLM、OutputParser 等一系列处理,最终产出结果。它的特点是单向、无环。
- LangGraph (The Graph): 就像一个状态机。系统维护一个共享的“状态(State)”,不同的处理单元(Node)读取并更新这个状态,执行流可以根据条件在节点之间跳转,甚至**循环(Cycle)**回到之前的节点。
架构对比示意图

核心区别: LangGraph 允许“回路”。这对于 Agent 来说至关重要,因为 Agent 经常需要“思考 -> 执行 -> 观察 -> 再思考”的循环过程。
2. LangGraph 的三大核心概念
要掌握 LangGraph,必须理解三个核心原语:State(状态)、Node(节点) 和 Edge(边)。
2.1 State(状态):系统的记忆
在 LangChain Expression Language (LCEL) 中,我们通常通过传递字典或字符串在 Chain 之间流动数据。而在 LangGraph 中,State 是所有节点共享的数据结构。
- 它定义了图的“Schema”(通常使用
TypedDict或 Pydantic 模型)。 - 每个节点执行完后,会返回一个更新(Update),LangGraph 负责将这个更新**合并(Merge)**到当前状态中,而不是完全覆盖。
from typing import TypedDict, Annotated
import operator
# 定义 State
class AgentState(TypedDict):
# messages 列表,新的消息会被 append 进去而不是覆盖 (由 operator.add 控制)
messages: Annotated[list[str], operator.add]
# 当前步骤计数
steps: int
2.2 Node(节点):执行单元
Node 就是具体的执行逻辑,通常是一个 Python 函数。
- 输入:当前的 State。
- 输出:对 State 的部分更新(Partial Update)。
def call_model_node(state: AgentState):
# 获取历史消息
messages = state['messages']
# 调用模型 (假设 model 是已初始化的 LangChain 对象)
response = model.invoke(messages)
# 返回更新:将新回复追加到 messages 列表中,并更新步数
return {
"messages": [response.content],
"steps": state['steps'] + 1
}
2.3 Edge(边):控制流
Edge 定义了节点之间的连接关系。LangGraph 有两种边:
- 普通边 (Normal Edge):从 A 节点无条件流向 B 节点。
- 条件边 (Conditional Edge):使用一个路由函数(Router),根据当前的 State 决定下一个节点是谁。这是实现 Agent 动态决策的关键。
3. LangGraph vs. LangChain:如何选择?
很多开发者会问:“我现有的 LangChain 代码需要重构吗?”。答案是:不一定。LangGraph 是建立在 LangChain 之上的,它们不是互斥关系,而是互补关系。
对比分析表
| 特性 | LangChain (LCEL / Chains) | LangGraph |
|---|---|---|
| 核心模型 | DAG (有向无环图) | State Machine (状态机) |
| 数据流向 | 线性传递 (Input -> Output) | 状态持久化与更新 (State Persistence) |
| 循环能力 | 困难 (需要递归或硬编码循环) | 原生支持 (Native Loops) |
| 容错与纠正 | 一次性执行,失败即报错 | 可在循环中自我修正 (Self-Correction) |
| 记忆管理 | 依赖外部 Memory 组件 | State 本身就是短期记忆,支持 Checkpoint 持久化 |
| 适用场景 | 简单的 RAG、明确的问答管道 | Agent、多步复杂任务、人机交互 (Human-in-the-loop) |
什么时候必须使用 LangGraph?
- 你需要循环(Loops): 例如代码生成场景。LLM 生成代码 -> 运行测试 -> 报错 -> 将错误回传给 LLM -> LLM 修正代码。这个“修正”的过程在传统 Chain 中很难优雅实现。
- 多 Agent 协作(Multi-Agent): 你需要一个专门的“主管 Agent”来分发任务给“搜索 Agent”和“计算 Agent”,并汇总结果。
- 人机协同(Human-in-the-loop): 任务执行到一半,需要暂停,等待人类批准或修改输入,然后再继续执行。LangGraph 的
checkpointer机制完美支持这一点。 - 非确定性路径: 执行路径高度依赖 LLM 的实时判断,而非预设的硬编码逻辑。
4. 实战代码结构预览 (Python)
下面是一个使用 LangGraph 构建最基础的“ReAct”风格循环图的代码骨架。
from langgraph.graph import StateGraph, END
from typing import TypedDict, Annotated
import operator
# 1. 定义状态
class State(TypedDict):
messages: Annotated[list, operator.add]
# 2. 初始化图
workflow = StateGraph(State)
# 3. 添加节点 (可以是 LangChain 的 Runnable 或普通函数)
workflow.add_node("agent", agent_node_function)
workflow.add_node("action", tool_execution_function)
# 4. 设置入口点
workflow.set_entry_point("agent")
# 5. 添加条件边
def should_continue(state):
last_message = state['messages'][-1]
if "tool_calls" in last_message:
return "continue"
return "end"
workflow.add_conditional_edges(
"agent",
should_continue,
{
"continue": "action",
"end": END
}
)
# 6. 添加普通边 (工具执行完必须回到 Agent 进行下一次思考)
workflow.add_edge("action", "agent")
# 7. 编译图 (这一步会进行校验)
app = workflow.compile()
# 8. 运行
inputs = {"messages": [("user", "查询一下今天北京的天气")]}
for output in app.stream(inputs):
# 实时流式输出每一个节点的执行结果
print(list(output.keys()), output)
5. 进阶实战:构建带自我修正 (Self-Correction) 的 Agent
为了体现 LangGraph 的强大,我们构建一个具备“自我反思”能力的 Agent。它不仅仅是执行任务,还会检查执行结果。如果结果不满意,它会自我批评并重新规划。
工作流: Plan -> Execute -> Reflect -> (Decision)
- Plan: 生成行动计划。
- Execute: 执行计划(例如调用工具或生成代码)。
- Reflect: 评估执行结果。如果通过,结束;如果不通过,提出修改意见。
- Decision: 根据 Reflect 的结果,决定是结束任务还是带着反馈回到 Plan 阶段。
5.1 状态机图示
5.2 核心代码实现
这是一个简化的逻辑实现,展示如何利用 State 在循环中传递“反馈”。
from langgraph.graph import StateGraph, END
from typing import TypedDict, Optional
# 1. 定义状态:包含任务、计划、结果和反思反馈
class AgentState(TypedDict):
task: str
plan: str
result: str
feedback: Optional[str]
retry_count: int
# 2. 定义节点函数 (模拟)
def plan_node(state: AgentState):
print("--- Planning ---")
# 如果有反馈,说明是重试,根据反馈调整计划
if state.get("feedback"):
new_plan = f"Revised plan for '{state['task']}' based on feedback: {state['feedback']}"
else:
new_plan = f"Initial plan for '{state['task']}'"
return {"plan": new_plan}
def execute_node(state: AgentState):
print("--- Executing ---")
plan = state["plan"]
# 模拟执行
result = f"Executed content for: {plan}"
return {"result": result}
def reflect_node(state: AgentState):
print("--- Reflecting ---")
# 模拟反思逻辑:这里简单的假设第一次总是失败,第二次成功
retry_count = state.get("retry_count", 0)
if retry_count < 1:
# 第一次反思,提出改进意见
return {
"feedback": "Result is too simple, add more details.",
"retry_count": retry_count + 1
}
else:
# 通过测试,标记通过
return {"feedback": "PASS", "retry_count": retry_count + 1}
# 3. 定义条件判断函数
def should_continue(state: AgentState):
if state["feedback"] == "PASS":
return "end"
return "continue"
# 4. 构建图
workflow = StateGraph(AgentState)
workflow.add_node("planner", plan_node)
workflow.add_node("executor", execute_node)
workflow.add_node("reflector", reflect_node)
workflow.set_entry_point("planner")
# 建立连接
workflow.add_edge("planner", "executor")
workflow.add_edge("executor", "reflector")
# 条件跳转
workflow.add_conditional_edges(
"reflector",
should_continue,
{
"continue": "planner", # 反馈不好,回到计划阶段
"end": END # 反馈通过,结束
}
)
app = workflow.compile()
# 5. 运行
inputs = {"task": "Write a Python script", "retry_count": 0, "feedback": None}
for output in app.stream(inputs):
# 打印每次状态更新的节点名
print(f"Node finished: {list(output.keys())}")
这个模式展示了 LangGraph 最强大的特性:状态持久化与循环控制。在传统的 Chain 中,实现这种“带着反馈回到上一步”的逻辑是非常复杂的,但在 Graph 中,它只是一个指向旧节点的边。
6. 总结
从 LangChain 到 LangGraph,不仅仅是工具的更换,更是开发思维的升级:
- 我们不再只是设计“输入到输出”的管道。
- 我们开始设计系统如何维护状态,以及系统如何在不同状态间流转。
如果你正在构建简单的 RAG 应用,LangChain 的 LCEL 依然是最快、最简洁的选择。但如果你试图构建一个能够自主决策、自我修正、甚至长期运行的智能体,LangGraph 是目前 Python 生态中架构最清晰、扩展性最强的选择。
更多推荐



所有评论(0)