从SIP信令机制到SDP会话描述(深度解析)
起始行是每个SIP消息的第一行,用于标识该消息的基本性质。根据消息类型的不同,起始行分为“请求行”和“状态行”。示例:参数说明:- Method :表示请求的操作类型,如INVITE、REGISTER等;- Request-URI :指示目标用户的地址,通常为SIP URI格式(sip:user@domain);- SIP-Version :当前固定为 SIP/2.0 ,代表使用的协议版本。此结构
简介
SIP(Session Initiation Protocol)是IETF制定的应用层信令协议,用于创建、修改和终止语音、视频等多媒体通信会话,在VoIP和实时通信中起核心作用。本文全面讲解SIP的架构组成、消息结构、会话建立流程,并结合SDP协议说明媒体信息交换机制。同时涵盖SIP的安全机制(TLS/SRTP)、扩展性设计、典型应用场景及NAT穿越、QoS等关键挑战的应对方案。

1. SIP协议基本概念与核心功能
SIP(Session Initiation Protocol)是一种应用层信令协议,广泛用于IP网络中实时通信会话的建立、修改与终止。其核心功能涵盖用户定位、用户可达性判断及会话参数协商,支持语音、视频、即时消息等多种媒体类型。SIP采用类HTTP的文本格式,使用请求-响应交互模式,具备良好的可读性与扩展性。协议本身不传输媒体数据,而是通过与SDP等协议协同完成会话描述交换。SIP支持无状态代理转发与有状态会话控制的灵活组合,在性能与可靠性之间实现平衡,为现代UC(统一通信)和WebRTC系统提供坚实基础。
2. SIP系统架构与组件详解
现代实时通信系统的可扩展性、灵活性和安全性高度依赖于合理的架构设计。在基于SIP(Session Initiation Protocol)的通信体系中,系统并非由单一设备构成,而是通过多个网络实体协同工作来完成会话的建立、维护与终止。这些实体各司其职,既独立运行又相互协作,形成了一个层次分明、职责清晰的分布式信令控制架构。深入理解SIP系统中的核心组件及其交互逻辑,是构建稳定、高效VoIP平台的基础。
SIP系统的典型部署包括终端用户代理、多种类型的服务器节点以及位于网络边界的防护设备。其中,用户代理作为通信发起者和接收者,直接参与会话流程;代理服务器负责请求转发与路由决策;注册服务器用于绑定用户当前位置;重定向服务器提供目标地址建议;而会话边界控制器(SBC)则承担安全加固、NAT穿越和协议合规等关键任务。本章将逐层剖析这些组件的功能机制,并结合实际场景分析它们如何协同实现完整的呼叫控制流程。
2.1 SIP网络实体的基本构成
SIP网络中的每一个参与者都被抽象为“网络实体”,根据其在会话过程中的角色不同,可分为:
用户代理(User Agent, UA);
代理服务器(Proxy Server);
注册服务器(Registrar);
重定向服务器(Redirect Server)等;
这些实体共同构成了SIP信令平面的核心结构。其中,用户代理是最基础也是最活跃的组成部分,它既是会话的起点也是终点。
2.1.1 用户代理(UA)的角色划分:UAC与UAS的功能差异
SIP协议采用请求-响应模型,因此每个UA都具备双重身份:既可以作为客户端发送请求(User Agent Client, UAC),也可以作为服务端接收并处理请求(User Agent Server, UAS)。这种角色不是固定的,而是动态切换的,取决于当前消息的方向。
例如,在一次典型的语音呼叫中:
- 主叫方首先扮演UAC角色,发送 INVITE 请求;
- 被叫方接收到该请求后,以UAS身份返回 180 Ringing 或 200 OK 响应;
- 当主叫方回应 ACK 时,它再次切换回UAC角色;
- 若被叫方希望挂断,则需作为UAC发起 BYE 请求。
这种双工能力使得SIP能够支持对等会话模式,无需预设主从关系。

[*] --> Idle
Idle --> SendingRequest : UAC发送请求
SendingRequest --> WaitingResponse : 等待响应
WaitingResponse --> ReceivedFinal : 收到2xx~6xx
WaitingResponse --> Timeout : 超时未响应
ReceivedFinal --> Idle : 完成事务
[*] --> Idle
Idle --> ReceivingRequest : UAS接收请求
ReceivingRequest --> Processing : 解析请求
Processing --> SendingResponse : 构造响应
SendingResponse --> Idle : 响应已发送
UAC与UAS在单个事务(Transaction)内的状态变迁。可以看到,UAC关注的是 等待响应 的过程,而UAS更侧重于 请求处理与响应生成 。两者共享同一个SIP栈,但在同一时刻只能承担一种角色。
2.1.2 UA的工作模式:软电话、硬终端与嵌入式客户端的实现方式
用户代理的具体实现形式多样,主要分为三类:软电话(Softphone)、硬终端(Hardphone)和嵌入式客户端(Embedded UA)。尽管底层遵循相同的SIP协议栈,但其部署环境、资源限制和交互方式存在显著差异。
1. 软电话(Softphone)
运行于通用操作系统之上(如Windows、macOS、Android/iOS),通常以桌面应用或移动App形式存在。代表产品有Zoiper、Linphone、MicroSIP等。
优势 :
- 开发成本低,易于更新迭代;
- 可深度集成企业CRM、邮件系统;
- 支持高清视频、屏幕共享等富媒体功能。挑战 :
- 依赖宿主系统的稳定性;
- 音频延迟受后台进程干扰;
- 缺乏专用硬件回声消除能力。
2. 硬终端(Hardphone)
即IP话机,内置SIP协议栈与嵌入式操作系统(如FreeRTOS、Linux),配备麦克风、扬声器、LCD屏及物理按键。这类设备专为语音优化,具备QoS标记、PoE供电、DSS键等功能,广泛应用于客服中心、会议室场景。
3. 嵌入式客户端
集成于IoT设备、智能家居网关、工业控制系统中,常以轻量级SIP栈(如reSIProcate、oSIP)运行在资源受限环境中。
应用场景举例 :
- 医疗报警系统自动拨号;
- 视频门禁系统远程通知;
- 工业机器人异常告警语音播报。
此类UA往往只实现有限方法集(仅支持 INVITE 和 BYE ),不参与复杂协商,强调低功耗与高可靠性。从工程角度看,选择何种UA形态需综合考虑业务需求、终端分布、运维复杂度等因素。例如,在大规模呼叫中心部署中,倾向于统一使用硬终端以保证服务质量一致性;而在远程办公场景下,则更适合推广软电话方案提升接入便利性。
不同UA类型的性能指标对比表

2.2 核心服务器组件及其协作机制
在SIP系统中,服务器组件承担着信令中继、用户定位、状态管理等关键职能。它们并不直接参与媒体流传输,但决定了信令路径的走向与会话建立的成功率。三大核心服务器——代理服务器、注册服务器与重定向服务器——构成了SIP网络的“中枢神经系统”。
2.2.1 代理服务器(Proxy Server)的路由决策逻辑:严格路由与松散路由
代理服务器是SIP信令路径上的中间节点,负责接收请求、执行路由决策并将其转发至下一跳。根据是否修改 Route 头域,可分为 无状态代理 (Stateless Proxy)和 有状态代理 (Stateful Proxy);根据路由策略的不同,又可分为 严格路由 (Strict Routing)与 松散路由 (Loose Routing)两种模式。
松散路由(Loose Routing)
当请求携带 Route 头域且第一个Route URI指向本代理时,代理将其移除并将请求发往 Request-URI 指定的目标。这是最常见的企业级代理行为。
INVITE sip:bob@company.com SIP/2.0
Via: SIP/2.0/UDP client.example.com
Route: <sip:proxy.company.com;lr>, <sip:other.proxy.net>
Request-URI: sip:bob@company.com
处理流程 :
1. 代理识别自身在 Route 列表首位;
2. 移除自身条目;
3. 查找 bob@company.com 的当前位置(查询位置数据库);
4. 将请求转发至最终目的地或下一个代理。关键字段 : lr 参数表示“loose router”,允许代理出现在非末端位置。
严格路由(Strict Routing)
若 Route 头域不存在或首个URI非本代理,则视为严格路由模式。此时代理必须将 Request-URI 替换为 Contact 头域值,并继续转发。
适用场景:老旧设备或运营商网络中不支持 lr 参数的情况。
路由决策流程
graph TD
A[收到SIP请求] --> B{是否有Route头?}
B -->|No| C[执行严格路由]
B -->|Yes| D{首项是否匹配本地?}
D -->|No| E[视为严格路由]
D -->|Yes| F[执行松散路由]
F --> G[移除首项Route]
G --> H[查DNS或位置数据库]
H --> I[转发至下一跳]
技术要点 :
- 松散路由提高了灵活性,支持递归代理链;
- 严格路由兼容性更好,但路径不易控制;
- 现代SIP系统普遍推荐启用lr参数以启用松散路由。
route {
if (is_method("INVITE")) {
if (!loose_route()) {
append_branch();
route_lookup("location", "nat"); // 查询注册位置
}
if (forward()) {
xlog("L_INFO", "Forwarded INVITE to $ru\n");
} else {
sl_reply_error();
}
}
}
逻辑分析 :
- loose_route() 判断是否存在有效的 Route 头并处理;
- 若无有效路由,则通过 route_lookup 查询用户注册信息;
- forward() 执行实际转发动作,基于DNS/SRV记录解析目标IP;
- 日志输出便于调试路由路径。参数说明 :
- $ru : Request-URI,目标地址;
- "location" : Kamailio的位置数据库表名;
- sl_reply_error() : 向客户端发送适当错误码(如404/503)
2.2.2 注册服务器(Registrar Server)的身份绑定流程:REGISTER请求处理与位置数据库维护
注册服务器负责接收用户的 REGISTER 请求,验证身份后将当前联系地址(Contact)与AOR(Address of Record)进行绑定,并存储于位置数据库中。这一过程实现了SIP的“用户可达性”机制。
REGISTER sip:registrar.example.com SIP/2.0
Via: SIP/2.0/UDP ua.example.com:5060
From: <sip:alice@example.com>;tag=abc123
To: <sip:alice@example.com>
Call-ID: xyz789@ua.example.com
CSeq: 1 REGISTER
Contact: <sip:alice@192.168.1.100:5060;transport=udp>
Expires: 3600
Authorization: Digest username="alice", realm="example.com", ...
关键字段解析 :
-Contact: UA当前所在的IP:port,用于后续呼叫路由;
-Expires: 绑定有效期,0表示注销;
-Authorization: HTTP Digest认证凭证,防止未授权注册。
sequenceDiagram
participant UA
participant Proxy
participant Registrar
UA->>Proxy: REGISTER (without Authorization)
Proxy->>UA: 401 Unauthorized (with WWW-Authenticate)
UA->>Proxy: REGISTER (with Authorization)
Proxy->>Registrar: Forward REGISTER
Registrar->>Registrar: Verify credentials & update location DB
Registrar-->>UA: 200 OK
说明 :
- 首次注册因无凭据被拒绝,触发质询-响应认证;
- 成功后,Registrar更新内部映射表:alice@example.com → 192.168.1.100:5060;
- 后续INVITE请求可通过此表查找被叫位置。

索引建议 :在
aor和expires字段建立联合索引,加速过期清理与查询。定期任务(如每分钟)扫描
expires < now()的记录并清除,避免僵尸条目堆积。
2.2.3 重定向服务器(Redirect Server)的响应生成策略:3xx状态码的应用场景
与代理服务器不同,重定向服务器不转发请求,而是向客户端返回 3xx 系列响应(如 301 Moved Permanently , 302 Moved Temporarily ),告知其应尝试的新地址。
应用场景举例
用户号码迁移: 301 Moved Permanently
临时转移至手机: 302 Moved Temporarily
多点注册负载分担: 300 Multiple Choices
SIP/2.0 302 Moved Temporarily
Contact: <sip:+1234567890@mobile.carrier.net>
Contact: <sip:home.voip.provider.com>
Retry-After: 30
行为影响 :
- 客户端需自行向新地址发起请求;
- 减轻服务器负载,但增加客户端复杂度;
- 适合大规模公共服务,如运营商IMS。
与代理服务器的比较(实践中,许多系统采用混合模式:先尝试重定向,失败后再由代理介入,兼顾效率与成功率)

2.3 边界控制器与安全防护节点
随着SIP应用向公网扩展,网络安全威胁日益严峻。传统的防火墙难以解析SIP信令中的动态端口信息,导致媒体流阻塞。同时,SIP Flood、注册欺骗等攻击频发。为此,会话边界控制器(SBC)成为不可或缺的安全网关。
2.3.1 SBC(Session Border Controller)在网络边缘的作用:拓扑隐藏与协议合规性检查
SBC部署于信任域与非信任域之间(如企业内网与互联网交界处),承担多重职责:
拓扑隐藏 :对外屏蔽内部网络结构,所有请求经SBC代理发出;
协议规范化 :修复畸形SIP消息、补全缺失头域、标准化编码顺序;
逻辑说明 :
- 强制校验关键头域,阻止非法请求进入核心网;
- 对INVITE自动注入默认SDP模板,避免协商失败;
- UDP大数据包分片处理,提升传输可靠性。
合法拦截 :配合法律要求实现CALEA(通信协助执法法案)监听接口;
计费采集 :生成CDR(Call Detail Record)供 billing 系统使用。
拓扑隐藏前后对比
# 无SBC(暴露内部结构)
UA → Public IP of PBX → Hacker can scan extensions
# 有SBC
UA → SBC (Public IP) → PBX (Private IP)
外部仅能看到SBC地址,无法探测后端服务器
2.3.2 SBC对媒体流与信令流的双重控制能力:NAT穿越支持与DoS攻击防御
SBC不仅处理信令,还深度介入RTP媒体流的转发策略。
NAT穿越机制
对于位于私网的UA,其SDP中声明的IP往往是内网地址(如 c=IN IP4 192.168.1.100 ),无法被外网访问。SBC通过以下方式解决:
信令层改写 :将 c= 和 m= 行中的IP替换为SBC公网IP;
媒体层桥接 :开启RTP代理模式,双向转发音视频包;
ICE候选同步 :在SDP中插入自己的公网候选地址。
// 修改前(UA原始SDP)
c=IN IP4 192.168.1.100
m=audio 5004 RTP/AVP 0
// 修改后(经SBC处理)
c=IN IP4 203.0.113.10 ← SBC公网IP
m=audio 5004 RTP/AVP 0
DoS攻击防御策略(可集成IDS/IPS模块,利用机器学习识别异常流量模式,实现主动阻断。)
2.4 多组件协同工作实例分析
2.4.1 一次完整呼叫中各实体的消息交互时序图解析
sequenceDiagram
participant Alice as UA (Alice)
participant SBC_A as SBC (Alice侧)
participant Proxy as Proxy Server
participant Registrar as Registrar
participant SBC_B as SBC (Bob侧)
participant Bob as UA (Bob)
Alice->>SBC_A: INVITE (Contact: private IP)
SBC_A->>Proxy: INVITE (Rewritten Contact: public IP)
Proxy->>Registrar: QUERY(location, bob@example.com)
Registrar-->>Proxy: Return Bob's Contact
Proxy->>SBC_B: INVITE
SBC_B->>Bob: INVITE (Media to SBC_B's port)
Bob-->>SBC_B: 180 Ringing
SBC_B-->>Proxy: 180 Ringing
Proxy-->>SBC_A: 180 Ringing
SBC_A-->>Alice: 180 Ringing
Bob-->>SBC_B: 200 OK (SDP answer)
SBC_B-->>Proxy: 200 OK (Rewrite c= line)
Proxy-->>SBC_A: 200 OK
SBC_A-->>Alice: 200 OK
Alice->>SBC_A: ACK
SBC_A->>Proxy: ACK
Proxy->>SBC_B: ACK
SBC_B->>Bob: ACK
Note right of Bob: Media flow via SBC_A ↔ SBC_B
关键路径总结 :
- SBC完成两次NAT穿越改写;
- Proxy执行路由查询;
- Registrar提供位置信息;
- 最终媒体流经SBC中继,信令呈端到端透明。
2.4.2 分布式SIP架构下的负载均衡与高可用部署实践
大型系统常采用如下架构:
+------------------+
| DNS Load Balancer |
+--------+---------+
|
+-----------v------------+
| SIP Proxy Cluster |
| (Active-Active Mode) |
+-----+-------+-----------+
| |
+-------v--+ +--+--------+
| SBC Node | | SBC Node |
| (HA) | | (HA) |
+----+-----+ +-----+-----+
| |
+--------v------+ +----v--------+
| Backend Servers| | Media Servers|
| (Registrar, etc)| | (RTP Engine)|
+----------------+ +-------------+
关键技术点 :
- 使用Keepalived + VRRP实现SBC主备切换;
- Redis集群共享注册状态,避免单点故障;
- Kamailio + Haproxy实现SIP层负载均衡;
- 数据库异步复制保障跨数据中心容灾。
3. SIP请求与响应消息结构
在现代实时通信系统中,SIP(Session Initiation Protocol)作为控制会话建立、修改与终止的核心信令协议,其消息结构的设计直接决定了系统的可读性、灵活性和互操作性。本章将深入剖析SIP消息的语法构成与语义逻辑,揭示其如何通过简洁而强大的文本格式实现跨网络、跨设备的会话协调机制。SIP消息遵循类HTTP的明文文本编码风格,采用ASCII字符集进行传输,便于调试与解析,同时保留了高度的扩展能力。每一个SIP交互都由请求(Request)或响应(Response)消息组成,它们共同构成了完整的信令对话流程。
理解SIP消息结构不仅是掌握协议运行机理的基础,更是开发高性能VoIP系统、构建智能呼叫中心或部署企业级UC平台的关键前提。尤其对于具备5年以上经验的IT从业者而言,深入掌握消息字段之间的依赖关系、头域的路由控制作用以及状态码背后的业务决策逻辑,有助于在复杂网络环境中快速定位问题、优化信令路径并提升整体服务质量。
3.1 SIP消息的基本语法规范
SIP消息采用一种清晰且易于解析的文本格式,其基本语法严格遵循RFC 3261定义的ABNF(Augmented Backus-Naur Form)规则。所有SIP消息均可分为两大类: 请求消息 (Request Message)和 响应消息 (Response Message)。无论哪一类,其结构均由三个主要部分组成: 起始行 (Start Line)、 消息头域 (Header Fields)和 消息体 (Message Body),中间以CRLF(回车换行)分隔。
这种模块化设计不仅提升了协议的可读性,也使得中间代理节点能够高效地处理关键头域而不必解析整个消息内容,从而支持无状态转发等性能优化策略。
3.1.1 起始行的两种类型:请求行与状态行的格式定义
起始行是每个SIP消息的第一行,用于标识该消息的基本性质。根据消息类型的不同,起始行分为“请求行”和“状态行”。
请求行 出现在请求消息中,格式如下:
Method SP Request-URI SP SIP-Version CRLF
示例:
text INVITE sip:bob@192.168.1.100 SIP/2.0
参数说明:
- Method :表示请求的操作类型,如INVITE、REGISTER等;
- Request-URI :指示目标用户的地址,通常为SIP URI格式(sip:user@domain);
- SIP-Version :当前固定为 SIP/2.0 ,代表使用的协议版本。
此结构借鉴了HTTP的设计思想,但语义更侧重于会话生命周期管理而非资源获取。
状态行 出现在响应消息中,格式为:
SIP-Version SP Status-Code SP Reason-Phrase CRLF
示例:
text SIP/2.0 200 OK
参数说明:
- Status-Code :三位数字的状态码,反映请求处理结果;
- Reason-Phrase :对状态码的人类可读描述,仅作参考用途,不用于程序判断。
状态码按类别划分,从1xx到6xx共六类,每类对应不同的处理阶段,将在后续章节详细展开。
为了直观展示两类起始行的区别,下表总结其结构差异:
上述语法设计体现了SIP协议的简洁性与一致性,也为后续的代理服务器路由、重定向决策提供了标准化输入基础。
此外,SIP使用空行(即连续两个CRLF)来分隔头部与消息体。若无消息体,则空行后直接结束消息。
graph TD
A[SIP Message] --> B[Start Line]
A --> C[Header Fields (one or more)]
A --> D[Empty Line (CRLF CRLF)]
A --> E[Message Body (optional)]
B -->|Request| F[Method + Request-URI + SIP-Version]
B -->|Response| G[SIP-Version + Status Code + Reason Phrase]
3.1.2 方法(Method)详解:INVITE、ACK、BYE、CANCEL、OPTIONS、REGISTER的操作语义
SIP方法定义了请求的具体操作意图,相当于HTTP中的GET、POST等动词。尽管RFC 3261规定了多种标准方法,但在实际应用中最常见的包括: INVITE 、 ACK 、 BYE 、 CANCEL 、 OPTIONS 和 REGISTER 。这些方法构成了SIP会话控制的核心指令集。
下面逐一分析其语义与典型应用场景:
INVITE 方法
INVITE 是最核心的SIP方法,用于发起一个多媒体会话。当主叫方希望与被叫方建立通话时,发送INVITE请求,并携带SDP消息体描述自身支持的媒体能力(如音频编码、端口等)。
INVITE sip:bob@192.168.1.100 SIP/2.0
Via: SIP/2.0/UDP 192.168.1.50:5060;branch=z9hG4bKabc123
Max-Forwards: 70
From: <sip:alice@192.168.1.50>;tag=12345
To: <sip:bob@192.168.1.100>
Call-ID: abcdef123@192.168.1.50
CSeq: 1 INVITE
Contact: <sip:alice@192.168.1.50:5060>
Content-Type: application/sdp
Content-Length: 206
v=0
o=alice 2890844526 2890844526 IN IP4 192.168.1.50
s=-
c=IN IP4 192.168.1.50
t=0 0
m=audio 49170 RTP/AVP 0
a=rtpmap:0 PCMU/8000
代码逻辑逐行解读:
- INVITE sip:bob@... : 表示向Bob发起会话邀请;
- Via : 记录消息经过的路径,防止环路,代理需添加自己的地址;【最新经过在最前面】
- Max-Forwards : 每经过一跳减1,防止无限转发;
- From/To : 标识会话双方身份,To初始不含tag;
- Call-ID/CSeq : 共同构成事务唯一标识,CSeq包含序列号与方法名;
- Contact : 提供直接联系地址,便于后续响应绕过代理;
- Content-Type : 指明消息体为SDP格式;
- SDP部分:描述主叫方的媒体参数,此处为PCMU编码音频流。
- 该请求触发被叫侧振铃(180 Ringing),最终可能收到200 OK响应完成协商。
ACK 方法
ACK 用于确认对最终响应(非1xx)的接收,特别是在可靠的非事务层(如TCP)上传输时确保可靠性。对于INVITE事务,ACK必须单独发送,即使没有新的消息体。
ACK sip:bob@192.168.1.100 SIP/2.0
Via: SIP/2.0/UDP 192.168.1.50:5060;branch=z9hG4bKxyz789
From: <sip:alice@192.168.1.50>;tag=12345
To: <sip:bob@192.168.1.100>;tag=67890
Call-ID: abcdef123@192.168.1.50
CSeq: 1 ACK
Content-Length: 0
注意:此ACK属于确认200 OK的接收,不启动新事务,也不需要对方再回复响应。
BYE 方法
BYE 用于正常终止已建立的会话。任何一方均可发起,接收方应回复200 OK表示接受释放。
BYE sip:alice@192.168.1.50 SIP/2.0
Via: SIP/2.0/UDP 192.168.1.100:5060;branch=z9hG4bKdef456
From: <sip:bob@192.168.1.100>;tag=67890
To: <sip:alice@192.168.1.50>;tag=12345
Call-ID: abcdef123@192.168.1.50
CSeq: 2 BYE
Content-Length: 0
该请求无需携带SDP,一旦确认,双方应立即停止媒体流传输并释放相关资源。
CANCEL 方法
CANCEL 用于取消尚未完成的请求(通常是未收到2xx响应的INVITE)。它不能取消已经成功的会话,仅影响正在进行中的呼叫尝试。
CANCEL sip:bob@192.168.1.100 SIP/2.0
Via: SIP/2.0/UDP 192.168.1.50:5060;branch=z9hG4bKabc123
From: <sip:alice@192.168.1.50>;tag=12345
To: <sip:bob@192.168.1.100>
Call-ID: abcdef123@192.168.1.50
CSeq: 1 CANCEL
Content-Length: 0
关键点:
- CSeq 中的方法变为CANCEL,但序列号与原INVITE一致;
- 只能取消同一事务内的请求;
- 代理服务器收到CANCEL后应立即停止转发INVITE,并向下游传播CANCEL。
OPTIONS 方法
OPTIONS 类似HTTP的探测机制,用于查询对方的能力信息(如支持的方法、编解码器等),常用于心跳检测或预检路由可达性。
OPTIONS sip:bob@192.168.1.100 SIP/2.0
Via: SIP/2.0/UDP 192.168.1.50:5060;branch=z9hG4bKopt111
From: <sip:monitor@system.local>;tag=opt1
To: <sip:bob@192.168.1.100>
Call-ID: opt123@system
CSeq: 1 OPTIONS
Accept: application/sdp
Content-Length: 0
响应中可通过 Allow 头域返回支持的方法列表,例如:
Allow: INVITE, ACK, BYE, CANCEL, OPTIONS, REGISTER
REGISTER 方法
REGISTER 用于用户向注册服务器声明其当前位置(Contact地址),以便其他用户可通过统一标识找到该终端。
REGISTER sip:registrar.example.com SIP/2.0
Via: SIP/2.0/UDP 192.168.1.50:5060;branch=z9hG4bKreg222
From: <sip:alice@example.com>;tag=reg1
To: <sip:alice@example.com>
Call-ID: reg789@client
CSeq: 1 REGISTER
Contact: <sip:alice@192.168.1.50:5060>;expires=3600
Expires: 3600
Content-Length: 0
注册服务器验证身份后,将Contact信息存入位置数据库(Location Server),供后续INVITE查找使用。
综上所述,SIP方法不仅是命令载体,更是构建完整会话生命周期控制链条的基础单元。正确理解和运用这些方法,是实现稳定、可控通信服务的前提。
3.2 状态码体系与错误处理机制
SIP采用基于类HTTP的状态码机制,通过三位数字编码表达请求处理的结果。状态码不仅反映了技术层面的成功与否,还承载着丰富的业务语义,指导客户端做出下一步行为决策。整个状态码体系划分为六类(1xx ~ 6xx),每一类对应特定的处理阶段和响应含义。
3.2.1 六类标准响应码(1xx~6xx)的含义与典型应用场景

1xx 临时响应
这类响应表示请求已被接收并正在处理,常见于INVITE事务中。
100 Trying :表示代理服务器已收到请求并开始处理,防止超时重传。
180 Ringing :被叫方正在振铃,通知主叫等待接听。
183 Session Progress :更高级的进展通知,常用于早期媒体(如回铃音)协商。
SIP/2.0 183 Session Progress
Via: SIP/2.0/UDP proxy1.example.com
From: <sip:alice@ex.com>;tag=a123
To: <sip:bob@ex.com>;tag=b456
Call-ID: xyz789@client
CSeq: 1 INVITE
Content-Type: application/sdp
Content-Length: 180
v=0
o=- 308115520 308115520 IN IP4 192.168.1.100
s=Progress Media
c=IN IP4 192.168.1.100
t=0 0
m=audio 49172 RTP/AVP 18
a=rtpmap:18 G729/8000
此响应允许在正式连接前播放提示音,提升用户体验。
2xx 成功响应
表示请求已成功处理。
200 OK 是最常见的成功码,用于注册、会话建立等场景。
例如,在REGISTER事务中:
SIP/2.0 200 OK
Contact: <sip:alice@192.168.1.50:5060>;expires=3500
Expires: 3500
表明注册成功,服务器接受了Contact绑定。
3xx 重定向
服务器告知客户端目标地址变更,需重新发起请求。
302 Moved Temporarily :返回一个新的Contact地址,客户端应自动重试。
SIP/2.0 302 Moved Temporarily
Contact: <sip:bob-mobile@3gpp.net>
适用于用户漫游或号码迁移场景。
4xx 客户端错误
表明请求本身存在问题。
400 Bad Request :消息语法错误,无法解析;
401 Unauthorized :缺少认证信息,需附带WWW-Authenticate头域;
404 Not Found :目标用户不存在于当前域;
407 Proxy Authentication Required :需通过代理认证;
486 Busy Here :被叫忙,无法接听。
5xx 服务器错误
服务器内部故障导致无法处理请求。
500 Server Internal Error :通用服务器异常;
503 Service Unavailable :服务暂时不可用,常因过载或维护。
6xx 全局失败
请求在整个网络范围内都无法满足。
603 Decline :被叫明确拒绝接听;
604 Does Not Exist Anywhere :用户彻底不存在。
3.2.2 常见故障码解读:404 Not Found、486 Busy Here、503 Service Unavailable
404 Not Found
表示请求的SIP URI在本地域中找不到对应的用户或服务。
可能原因:
- 用户未注册;
- URI拼写错误;
- DNS/SRV记录配置不当。
处理建议:
- 检查REGISTER状态;
- 验证域名解析;
- 查看位置数据库是否更新。
被叫终端处于忙碌状态(如正在进行另一通电话)。
特点:
- 属于“终端级”拒绝;
- 不影响未来呼叫;
- 可配合Presence系统显示状态。
系统可据此触发语音提示:“The person you are calling is currently busy.”
503 Service Unavailable
通常由代理服务器或注册服务器返回,表示当前负载过高或服务中断。
常见触发条件:
- CPU/内存超限;
- 数据库连接失败;
- 进程崩溃。
应对策略:
- 实施限流保护;
- 启用备用服务器;
- 返回Retry-After头域建议重试时间。
SIP/2.0 503 Service Unavailable
Retry-After: 60
客户端应在60秒后重试注册或呼叫。
3.3 消息头域的分类与作用
SIP头域是消息控制的核心,承担路由、事务管理、安全认证等多种功能。根据用途可分为三类: 通用头域 、 请求专用头域 、 响应专用头域 。
3.3.1 通用头域:Via、Max-Forwards、Call-ID、CSeq的传输控制功能
头域 作用说明
Via 记录消息路径,确保响应沿原路返回
Max-Forwards 控制最大跳数,防环
Call-ID 唯一标识一次会话,由客户端生成
CSeq 命令序列,格式为“序号 方法”,用于排序和去重
示例:
Via: SIP/2.0/UDP client.example.com:5060;branch=z9hG4bK123456
Max-Forwards: 70
Call-ID: abc123def@client.example.com
CSeq: 5 INVITE
其中, branch 参数用于标识事务分支,是SIP栈实现无状态代理的关键。
3.3.2 请求/响应专用头域:From、To、Contact、Route、Record-Route的路径管理意义

From: <sip:alice@ex.com>;tag=12345
To: <sip:bob@ex.com>
Contact: <sip:alice@192.168.1.50:5060>
Route: <sip:proxy1.ex.com;lr>, <sip:proxy2.ex.com;lr>
Record-Route: <sip:orig-proxy.ex.com;lr>
lr 参数表示“loose routing”,兼容松散路由模式。
3.4 消息体(Message Body)的封装规则
SIP本身不处理媒体,而是通过消息体携带会话描述(如SDP)来协商媒体参数。
3.4.1 SDP在SIP消息中的嵌入方式:Content-Type与Content-Length头域配合使用
Content-Type: application/sdp
Content-Length: 167
v=0
o=alice 2890844526 2890844526 IN IP4 192.168.1.50
s=-
c=IN IP4 192.168.1.50
t=0 0
m=audio 49170 RTP/AVP 0
a=rtpmap:0 PCMU/8000
Content-Type 指明内容格式, Content-Length 确保接收方正确截取数据。
3.4.2 多部分消息体(MIME multipart bodies)的高级应用场景
可用于同时传输SDP和文本消息:
Content-Type: multipart/mixed; boundary=boundary1
Content-Length: ...
--boundary1
Content-Type: text/plain
Hello, can you hear me?
--boundary1
Content-Type: application/sdp
v=0
--boundary1--
适用于富媒体通信场景,如视频通话附带即时消息。
4. SIP会话建立、维护与终止全流程
在现代实时通信系统中,SIP(Session Initiation Protocol)不仅承担着用户之间的信令交互职责,更构建了一套完整的会话生命周期管理机制。从初始的呼叫发起,到媒体参数的动态协商,再到最终资源释放,SIP通过标准化的消息流程确保了跨平台、跨网络环境下的可靠通信。本章将深入剖析SIP会话的全生命周期,重点解析其建立过程中的三次握手模型、中期会话调整机制、正常终止流程以及异常中断处理策略。这些环节共同构成了一个具备高可靠性、可扩展性和容错能力的通信控制框架。
4.1 初始会话建立过程(三次握手模型)
SIP会话的建立并非简单的“一问一答”,而是遵循一种类TCP三次握手的逻辑结构,以确保双方对会话状态达成一致。这一过程主要由 INVITE 请求、临时响应、最终应答及确认消息组成,形成了典型的四步交互模式——尽管常被称为“三次握手”,实则包含四个关键步骤。该机制的核心目标是在不可靠传输(如UDP)环境下实现可靠的会话初始化,并为后续媒体流的建立提供协商基础。
4.1.1 INVITE请求发送与临时响应(100 Trying, 180 Ringing)处理
当主叫方决定发起通话时,其用户代理客户端(UAC)构造并发送一条 INVITE 消息。此消息携带了发起方的SDP描述(Offer),用于声明自身支持的媒体类型、编码格式、RTP端口等信息。 INVITE 是一种非幂等方法,意味着重复发送可能产生新的会话实例,因此其重传机制需谨慎设计。
INVITE sip:bob@domain.com SIP/2.0
Via: SIP/2.0/UDP client.domain.com:5060;branch=z9hG4bKabc123
Max-Forwards: 70
From: <sip:alice@domain.com>;tag=12345
To: <sip:bob@domain.com>
Call-ID: abcdefghijklmnopqrstuvwxyz
CSeq: 1 INVITE
Contact: <sip:alice@client.domain.com:5060>
Content-Type: application/sdp
Content-Length: 187
v=0
o=alice 2890844526 2890844526 IN IP4 client.domain.com
s=-
c=IN IP4 client.domain.com
t=0 0
m=audio 49170 RTP/AVP 0
a=rtpmap:0 PCMU/8000

接收到 INVITE 后,中间节点(如代理服务器)可根据路由规则转发,而被叫方 UA(UAS)在收到后首先返回 100 Trying 响应:
SIP/2.0 100 Trying
Via: SIP/2.0/UDP client.domain.com:5060;branch=z9hG4bKabc123
From: <sip:alice@domain.com>;tag=12345
To: <sip:bob@domain.com>
Call-ID: abcdefghijklmnopqrstuvwxyz
CSeq: 1 INVITE
此时 To 头域增加了 tag ,标志着对话(Dialog)的正式建立起点。该阶段允许主叫方播放回铃音,提升用户体验。
流程图:INVITE 初始建立流程
sequenceDiagram
participant Alice as UAC (Alice)
participant Proxy as Proxy Server
participant Bob as UAS (Bob)
Alice->>Proxy: INVITE (SDP Offer)
Proxy->>Bob: Forward INVITE
Bob->>Proxy: 100 Trying
Proxy->>Alice: 100 Trying
Bob->>Proxy: 180 Ringing
Proxy->>Alice: 180 Ringing
Bob->>Proxy: 200 OK (SDP Answer)
Proxy->>Alice: 200 OK
Alice->>Bob: ACK (Confirm)
4.1.2 200 OK响应携带SDP应答的协商机制
当被叫方决定接受呼叫时,UAS生成 200 OK 响应,其中必须包含 SDP 应答(Answer),用于回应主叫方的媒体提议。这个过程遵循 Offer/Answer 模型 (RFC 3264),即一方提出 Offer,另一方返回 Answer,完成双向媒体参数协商。
SIP/2.0 200 OK
Via: SIP/2.0/UDP client.domain.com:5060;branch=z9hG4bKabc123
From: <sip:alice@domain.com>;tag=12345
To: <sip:bob@domain.com>;tag=67890
Call-ID: abcdefghijklmnopqrstuvwxyz
CSeq: 1 INVITE
Contact: <sip:bob@server.domain.com>
Content-Type: application/sdp
Content-Length: 192
v=0
o=bob 2890844777 2890844777 IN IP4 server.domain.com
s=-
c=IN IP4 server.domain.com
t=0 0
m=audio 49200 RTP/AVP 8
a=rtpmap:8 PCMA/8000
参数分析:
- To 中的 tag=67890 完成了对话标识符(Dialog ID)的构建: Call-ID + From-tag + To-tag 。
- SDP 中 m=audio 49200 表示 Bob 将监听 49200 端口接收 RTP 流。
- 编码选择 PCMA/8000 (payload type 8)是 G.711 A-law,虽与 Alice 提出的 PCMU 不同,但属于兼容编解码集,在实际中可通过转码或共通编码解决。
这种灵活性正是SIP+SDP组合的优势所在:允许异构终端基于公共子集达成共识。
此外, 200 OK 必须沿原路径返回(除非使用 Record-Route 机制改变路径),保证所有中间状态服务器能感知会话建立结果。
4.1.3 ACK确认消息的作用与可靠性保障
尽管 200 OK 已表示被叫方同意会话,但由于 UDP 无法保证交付,主叫方仍需发送 ACK 进行确认,从而关闭 INVITE 事务(Transaction)。这是 SIP 可靠性机制的重要组成部分。
ACK sip:bob@server.domain.com SIP/2.0
Via: SIP/2.0/UDP client.domain.com:5060;branch=z9hG4bKxyz789
From: <sip:alice@domain.com>;tag=12345
To: <sip:bob@domain.com>;tag=67890
Call-ID: abcdefghijklmnopqrstuvwxyz
CSeq: 1 ACK
Content-Length: 0
注意:
- CSeq 方法变为 ACK ,编号仍为1,与原始 INVITE 对应。
- 若使用 TCP/TLS, ACK 可能不带消息体;但在 UDP 上,若 200 OK 包含 SDP,则 ACK 必须显式发送(RFC 3261 §13.2.2.4)。
- 此 ACK 直接发往 Contact 地址(Bob 的 IP),绕过代理,形成“三角路由”优化路径。
若 ACK 丢失,Bob 将重传 200 OK ,直到超时或收到确认。反之,若 200 OK 丢失,Alice 也会重发 INVITE ,但 Bob 必须识别重复请求并避免多次振铃(依据 Call-ID 和 CSeq 判断)。
4.2 会话中期操作与动态调整
一旦会话建立,SIP 并非静止不变。现实应用中经常需要更改媒体属性,例如开启视频、切换编解码器、调整带宽或保持/恢复通话。为此,SIP 定义了两种核心机制: Re-INVITE 和 UPDATE 方法,分别适用于已建立对话内的变更和早期会话阶段的补充协商。
4.2.1 Re-INVITE用于媒体参数变更(如视频开启或带宽调整)
Re-INVITE 是在同一对话(Dialog)内重新发起的 INVITE 请求,用于修改现有会话的媒体配置。它复用原有的 Call-ID 、 From-tag 和 To-tag ,并通过递增 CSeq 来区分顺序。
假设 Alice 希望在语音通话基础上添加视频流:
INVITE sip:bob@domain.com SIP/2.0
Via: SIP/2.0/UDP client.domain.com:5060;branch=z9hG4bKnew456
From: <sip:alice@domain.com>;tag=12345
To: <sip:bob@domain.com>;tag=67890
Call-ID: abcdefghijklmnopqrstuvwxyz
CSeq: 2 INVITE
Contact: <sip:alice@client.domain.com>
Content-Type: application/sdp
Content-Length: 256
v=0
o=alice 2890844527 2890844527 IN IP4 client.domain.com
s=-
c=IN IP4 client.domain.com
t=0 0
m=audio 49170 RTP/AVP 0
a=rtpmap:0 PCMU/8000
m=video 51372 RTP/AVP 31
a=rtpmap:31 H261/90000
逻辑分析:
- CSeq: 2 INVITE 表示这是第二次请求,触发 Re-INVITE 事务。
- 新增 m=video 媒体行,提议使用 H.261 编码。
- Bob 收到后可接受、拒绝或提议替代方案(如 VP8)。
- 成功响应仍为 200 OK + SDP Answer,随后 Alice 发送 ACK 确认。
值得注意的是,Re-INVITE 可用于:
- 增删媒体流(如关闭视频)
- 修改传输端口或IP(NAT环境常见)
- 更改编解码优先级
- 触发重新密钥交换(结合SRTP)
然而,Re-INVITE 存在风险:若失败可能导致会话中断。因此某些系统采用 OPTIONS 探测或提前协商多流能力(via a=sendonly / a=recvonly )降低变更频率。
4.2.2 UPDATE方法在早期会话阶段的补充协商用途
UPDATE 方法(RFC 3311)专用于尚未完全建立的会话(即 Dialog 已存在但尚未收到最终响应前),允许在 1xx 响应之后、 200 OK 之前更新媒体参数。
典型场景:主叫方在发出 INVITE 后发现本地网络拥塞,希望降低音频比特率。
UPDATE sip:bob@domain.com SIP/2.0
Via: SIP/2.0/UDP client.domain.com:5060;branch=z9hG4bKupd111
From: <sip:alice@domain.com>;tag=12345
To: <sip:bob@domain.com>;tag=67890
Call-ID: abcdefghijklmnopqrstuvwxyz
CSeq: 3 UPDATE
Content-Type: application/sdp
Content-Length: 187
v=0
o=alice 2890844528 2890844528 IN IP4 client.domain.com
s=-
c=IN IP4 client.domain.com
t=0 0
m=audio 49170 RTP/AVP 11
a=rtpmap:11 G722/16000
特点分析:
- UPDATE 不改变会话状态,仅更新待定参数。
- 可在 180 Ringing 后发送,无需等待 200 OK 。
- 返回 200 OK 表示接受更新,否则返回错误码(如 488 Not Acceptable Here )。
- 不触发 ACK,因其不属于 INVITE 类事务。
相较于 Re-INVITE, UPDATE 更轻量、安全,适合预协商阶段微调。
Re-INVITE vs UPDATE对比
4.3 会话正常终止流程
会话终止是生命周期的最后一环,要求两端协同清理状态、释放资源(如RTP端口、内存缓冲区、计费记录等),并通知相关组件(如代理、B2BUA)同步更新。
4.3.1 BYE请求的发起条件与双向释放机制
任一参与者均可发起 BYE 请求来终止会话。通常由挂机方(无论是主叫还是被叫)发送。
BYE sip:bob@server.domain.com SIP/2.0
Via: SIP/2.0/UDP client.domain.com:5060;branch=z9hG4bKbye222
From: <sip:alice@domain.com>;tag=12345
To: <sip:bob@domain.com>;tag=67890
Call-ID: abcdefghijklmnopqrstuvwxyz
CSeq: 3 BYE
Content-Length: 0
Bob 收到后回复 200 OK :
SIP/2.0 200 OK
Via: ...
From: ...
To: ...
Call-ID: ...
CSeq: 3 BYE
Content-Length: 0
至此,双方均释放本地资源,对话结束。
关键点:
- BYE 必须在同一对话上下文中发送(即包含正确的 tags)。
- 不需要 ACK ,因为 200 OK 是终结响应。
- 若对方未响应 BYE ,可重传最多 32 秒(T1=500ms 指数退避)。
4.3.2 状态清理与资源回收的同步要求
会话终止后,各实体需执行以下操作:

特别地,对于 B2BUA 架构(如某些SBC或应用服务器),必须桥接两个半会话,确保两侧 BYE 均被处理,防止“僵尸会话”占用资源。
4.4 异常情况下的会话中断处理
并非所有呼叫都能顺利完成。网络延迟、用户取消、服务器过载等情况要求 SIP 具备优雅的异常处理机制。
4.4.1 CANCEL命令的使用时机与代理服务器的中止传播机制
CANCEL 用于终止尚未完成的 INVITE 事务(即未收到 2xx 响应前)。典型场景包括:
- 主叫方拨错号码后立即挂断
- 长时间无响应(>64*T1 ≈ 32秒)
CANCEL sip:bob@domain.com SIP/2.0
Via: SIP/2.0/UDP client.domain.com:5060;branch=z9hG4bKabc123
From: <sip:alice@domain.com>;tag=12345
To: <sip:bob@domain.com>
Call-ID: abcdefghijklmnopqrstuvwxyz
CSeq: 1 CANCEL
Content-Length: 0
重要约束:
- CANCEL 的 branch 必须与原始 INVITE 一致。
- CSeq 编号相同,方法改为 CANCEL 。
- 不能取消 2xx 响应后的事务(此时应使用 BYE )。
代理服务器收到 CANCEL 后立即转发至下一跳,并启动本地取消流程。当 UAS 收到 CANCEL ,应回复 200 OK 给 CANCEL 事务,并向 UAC 返回 487 Request Terminated :
SIP/2.0 487 Request Terminated
Via: ...
From: ...
To: ... ;tag=...
Call-ID: ...
CSeq: 1 INVITE
这标志着 INVITE 事务被强制终止。
Mermaid 流程图:CANCEL 处理流程
sequenceDiagram
Alice->>Proxy: INVITE
Proxy->>Bob: INVITE
Alice->>Proxy: CANCEL
Proxy->>Bob: CANCEL
Bob->>Proxy: 200 OK (to CANCEL)
Proxy->>Alice: 200 OK (to CANCEL)
Bob->>Proxy: 487 Request Terminated
Proxy->>Alice: 487
该机制有效防止无效呼叫持续占用资源。
4.4.2 超时重传策略与非可靠传输(UDP)下的容错设计
SIP 在 UDP 上依赖定时重传来弥补不可靠性。不同事务有不同的重传规则:

例如,UAC 发送 INVITE 后若未收到响应,将在 500ms、1s、2s、4s… 直至 32.2s 后放弃。
而在 NAT 环境下,频繁重传可能导致防火墙状态失效,故建议使用 STUN/TURN 或迁移到 TCP/TLS。
综上所述,SIP 通过精细的状态机设计、灵活的扩展方法和健壮的容错机制,实现了复杂网络环境下的高效会话控制。理解这些流程不仅是部署 VoIP 系统的基础,也为开发 WebRTC、UC(统一通信)平台提供了底层支撑。
5. SDP协议原理与会话描述信息交换
在现代实时通信系统中,SIP负责会话的建立、修改和终止,而真正决定媒体如何传输的关键内容——如编码格式、端口、IP地址、带宽等——则由另一项关键协议承载:会话描述协议(Session Description Protocol, SDP)。SDP并非信令协议,而是作为SIP消息体中的“有效载荷”存在,其作用是精确地描述一次多媒体会话的技术参数。本章将深入剖析SDP的设计哲学、语法结构、媒体协商机制,并结合实际应用场景,展示其在WebRTC等前沿技术中的核心地位。
5.1 SDP协议的设计目标与基本结构
SDP诞生于1998年(RFC 2327),后经多次修订(如RFC 4566)成为IETF标准,其设计初衷是提供一种简洁、可读性强且平台无关的文本格式来描述多媒体会话属性。它不用于传输数据本身,也不参与控制流程,而是作为 元数据容器 嵌入到SIP、RTSP或HTTP等协议的消息体中,供通信双方进行能力协商。这种“分离控制与描述”的设计理念,使得SDP具备高度灵活性,能够在异构网络环境下实现跨设备、跨编解码器的互操作。
5.1.1 会话描述协议(SDP)作为SIP承载内容的标准格式
SIP通过INVITE、200 OK、UPDATE等方法传递会话请求与响应,但这些信令仅定义了“谁要通话”、“是否接受”,并未说明“用什么方式通话”。这就引出了SDP的核心使命:在SIP信令之上承载媒体协商信息。典型的SIP/SDP交互遵循Offer/Answer模型:
- Offer :主叫方在INVITE请求中携带SDP Offer,声明自己支持的媒体类型、编码、端口等;
- Answer :被叫方在200 OK响应中返回SDP Answer,确认接受哪些参数并反馈自身能力;
- 双方据此建立RTP流连接。
该模型确保了双向兼容性,避免因编解码不匹配导致通信失败。
SDP以纯文本形式组织,每行一个字段,采用 <type>=<value> 格式,其中 <type> 为单字符标识符,代表特定语义类别。以下是SDP的基本结构示例:
v=0
o=jdoe 2890844526 2890844526 IN IP4 192.0.2.1
s=Seminar
c=IN IP4 192.0.2.123
t=0 0
m=audio 49170 RTP/AVP 0
a=rtpmap:0 PCMU/8000
上述代码块展示了最简化的音频会话描述。接下来逐行解析其含义:

此结构体现了SDP的分层逻辑:从全局会话属性(v, o, s, t)到具体媒体流配置(m, a),层次清晰,易于扩展。
SDP在SIP呼叫中的嵌入过程
sequenceDiagram
participant UAC as User Agent Client
participant Proxy
participant UAS as User Agent Server
UAC->>Proxy: INVITE (SDP Offer in body)
Proxy->>UAS: Forward INVITE
UAS-->>Proxy: 180 Ringing
Proxy-->>UAC: Relay 180
UAS->>UAC: 200 OK (SDP Answer in body)
UAC->>UAS: ACK (Confirm receipt)
Note right of UAS: SDP parsed,<br>media session established
该流程图展示了SDP如何在SIP三次握手过程中完成媒体协商。值得注意的是,即使使用可靠的传输层(如TCP/TLS),SIP仍需ACK确认200 OK,以防止重复处理SDP答案。
5.1.2 SDP的全局属性与媒体层次划分:v=, o=, s=, t=, m=等字段详解
SDP结构分为两个层级: 会话级(session-level) 和 媒体级(media-level) 。会话级字段适用于整个会话,而媒体级字段仅作用于后续第一个 m= 行所定义的媒体流。
会话级字段详解

媒体级字段详解
每个 m= 行开启一个新的媒体描述段落,其后跟随的 c= , b= , a= 等均属于该媒体流上下文。
m=audio 49170 RTP/AVP 0 8 9
m=video 51372 RTP/AVP 31
a=rtpmap:31 H261/90000
a=fmtp:31 profile-level-id=1
- m=audio 49170 RTP/AVP 0 8 9
- audio : 媒体类型,常见有 audio , video , application , message
- 49170 : 本地RTP端口号(偶数),RTCP默认+1
- RTP/AVP : 传输协议,AVP表示Audio/Video Profile
- 0 8 9 : 支持的payload type列表(静态分配)
- a=rtpmap:0 PCMU/8000
- 映射payload type 0 到G.711 μ-law编码,采样率8kHz
- 若未显式声明,某些payload type有默认映射(如0→PCMU)
- a=fmtp:31 profile-level-id=1
- 为H.261指定编码参数,不同编解码器需要不同的fmtp参数集
实际案例分析:多流复合会话SDP
v=0
o=alice 2890844526 2890844527 IN IP4 host.example.com
s=Example Multimedia Session
c=IN IP4 203.0.113.1
t=0 0
m=audio 49170 RTP/AVP 0
a=rtpmap:0 PCMU/8000
m=video 51372 RTP/AVP 31
a=rtpmap:31 H261/90000
a=fmtp:31 profile-level-id=1
m=application 32416 udp wb-discussion
a=orient:portrait
此SDP描述了一个包含语音、视频和白板共享的复合会话。注意:
- 每个 m= 独立占用端口;
- c= 出现在会话级,所有媒体共用同一IP;
- 白板应用使用UDP协议而非RTP,体现SDP对非RTP媒体的支持。
5.2 媒体信息的精确表达
SDP的核心价值在于能够无歧义地表达复杂的媒体能力集合,从而实现跨厂商、跨平台的互操作。尤其在多编码支持、动态payload type分配、安全媒体协商等场景下,精准的媒体描述至关重要。
5.2.1 媒体类型(audio/video/application)与传输端口绑定机制
SDP通过 m= 行定义媒体流的基本传输框架。其语法如下:
m=<media> <port> <proto> <fmt> ...
各参数含义如下:

动态Payload Type映射机制
传统编解码如PCMU(PT=0)、GSM(PT=3)使用IANA预分配的静态编号。但对于Opus、VP9等现代编码,则常使用动态PT(96以上),并通过 a=rtpmap 和 a=fmtp 补充描述:
m=audio 5004 RTP/AVP 96
a=rtpmap:96 opus/48000/2
a=fmtp:96 minptime=10; useinbandfec=1
- opus/48000/2 : Opus编码,采样率48kHz,双声道
- minptime=10 : 最小打包时间10ms
- useinbandfec=1 : 启用带内前向纠错增强抗丢包能力
此类机制极大提升了SDP的表达能力,允许新编码无需注册即可临时协商。
多路媒体流的端口管理策略
当存在多个同类型媒体流(如双摄像头视频)时,可通过以下方式区分:
- 独立 m= 行 + 不同端口
sdp m=video 5006 RTP/AVP 97 a=rtpmap:97 VP8/90000 m=video 5008 RTP/AVP 98 a=rtpmap:98 H264/90000
- 使用BUNDLE扩展复用同一端口
在WebRTC中,多个媒体流可共享单一ICE通道,通过 a=group:BUNDLE 指示:
sdp a=group:BUNDLE audio video m=audio 7 UDP/TLS/RTP/SAVPF 111 m=video 7 UDP/TLS/RTP/SAVPF 97
此处两个媒体流均使用端口7,依赖DTLS证书指纹区分。
5.2.2 编码格式标识(payload type)与rtpmap属性映射关系
SDP中编解码能力的表达依赖于 rtpmap 和 fmtp 属性,二者共同构成完整的媒体能力声明。
rtpmap属性语法
a=rtpmap:<payload-type> <encoding-name>/<clock-rate>[/<encoding-params>]
示例对比:

fmtp参数的重要性
某些编码需额外参数才能正确初始化解码器。例如H.264要求明确profile-level-id和packetization-mode:
a=rtpmap:97 H264/90000
a=fmtp:97 profile-level-id=42e01f; packetization-mode=1; level-asymmetry-allowed=1
- profile-level-id=42e01f : Baseline Profile, Level 3.1
- packetization-mode=1 : 支持FU-A分片,适合低MTU环境
- level-asymmetry-allowed=1 : 允许主被叫使用不同性能等级
缺乏正确的 fmtp 可能导致黑屏或解码失败,因此在实际部署中应严格校验。
5.3 网络连接信息的传递
媒体流能否成功建立,不仅取决于编解码一致性,更依赖准确的网络可达性信息。SDP通过 c= 行和ICE候选地址机制解决NAT穿越难题,使终端可在复杂网络拓扑中发现彼此。
5.3.1 c=行中的IP地址指定:单播与多播地址的区别
c= 字段定义了媒体流的目标IP地址,格式为:
c=<nettype> <addrtype> <connection-address>
例如:
c=IN IP4 192.0.2.123
c=IN IP6 2001:db8::1
单播 vs 多播会话 
对于多播会话, c= 行可指定组播地址:
c=IN IP4 224.2.17.12/127/3
/127: TTL(Time to Live),限制转发跳数/3: 数量,表示该会话包含3个连续组播地址(224.2.17.12~14)
尽管多播理论上高效,但由于企业防火墙普遍封锁、QoS难以保障等问题,实际商用系统几乎全部采用单播+SFU/MCU架构模拟广播效果。
5.3.2 ICE候选地址在SDP中的表达形式(结合RFC 5245扩展)
传统SDP仅携带公网IP,无法应对NAT后的私网地址问题。为此,IETF引入交互式连接建立(Interactive Connectivity Establishment, ICE)框架(RFC 8445),允许终端在SDP中列出多个候选路径(Candidate Addresses),并通过STUN/TURN服务器辅助连通性检测。
ICE候选地址格式
在 a=candidate: 属性中表达:
a=candidate:<foundation> <component> <transport> <priority>
<ip> <port> typ <type> ... [raddr <remote-ip>] [rport <remote-port>]
示例:
a=candidate:1698943791 1 udp 2113937151 192.168.1.100 50002 typ host
a=candidate:3289913055 1 udp 1610877951 203.0.113.45 50002 typ srflx raddr 192.168.1.100 rport 50002
a=candidate:2879837788 1 tcp 1518280447 192.168.1.100 9 typ host tcptype passive

ICE协商流程
graph TD
A[终端A生成Offer] --> B[收集host/srflx/relay候选]
B --> C[插入a=candidate:*至SDP]
C --> D[发送Offer via SIP]
D --> E[终端B收到Offer]
E --> F[执行Connectivity Checks]
F --> G{找到最短路径?}
G -->|Yes| H[建立媒体流]
G -->|No| I[尝试下一候选]
整个ICE过程透明运行于SDP之上,无需修改SIP信令逻辑,体现了协议良好的模块化设计。
5.4 实践案例:WebRTC中SDP Offer/Answer模型的实际应用
WebRTC彻底改变了浏览器间的实时通信模式,其核心技术支柱之一便是基于SDP的Offer/Answer模型。以下以JavaScript API为例,展示完整流程。
// 创建RTCPeerConnection
const pc = new RTCPeerConnection({
iceServers: [{ urls: 'stun:stun.l.google.com:19302' }]
});
// 添加本地音视频轨道
navigator.mediaDevices.getUserMedia({ audio: true, video: true })
.then(stream => {
stream.getTracks().forEach(track => pc.addTrack(track, stream));
});
// 主叫方创建Offer
pc.createOffer()
.then(offer => pc.setLocalDescription(offer))
.then(() => {
console.log("Local SDP Offer:", pc.localDescription.sdp);
// 通过信令服务器发送offer给对方
signalingChannel.send({ type: 'offer', sdp: pc.localDescription });
});
// 接收Answer
signalingChannel.onmessage = async ({ data }) => {
if (data.type === 'answer') {
await pc.setRemoteDescription(new RTCSessionDescription(data));
}
};
代码逻辑分析:
- 初始化PeerConnection :注入STUN服务器用于ICE候选发现;
- 采集媒体流 :调用 getUserMedia 获取麦克风/摄像头权限;
- 创建Offer :触发ICE收集、编解码枚举、生成初始SDP;
- 设置本地描述 :调用 setLocalDescription 锁定本地状态;
- 信令传输 :通过WebSocket或其他通道发送Offer;
- 接收Answer :对方回传SDP Answer后设置为远程描述。
- 整个过程自动完成媒体协商与NAT穿透,开发者只需关注信令路由。
SDP压缩与优化建议
由于完整SDP可能超过SIP报文限制(尤其在UDP下),实践中常采取以下措施:
- 移除冗余属性 :如不必要的 a=rtcp-mux-only 、重复 a=mid
- 启用rtcp-mux :复用RTP端口传输RTCP,减少候选数量
- 使用Unified Plan :统一处理多流,简化SDP结构
最终形成的SDP既满足功能需求,又适配网络传输约束。
6. SIP扩展机制
SIP协议自RFC 3261发布以来,其设计核心之一便是可扩展性。这种灵活性使得SIP能够在不断演进的通信场景中保持生命力,适应从传统语音通话到现代WebRTC、物联网设备互联等多种复杂应用环境。与HTTP类似,SIP采用模块化设计理念,允许在不破坏现有架构的前提下引入新的方法、状态码、头域以及消息体格式。本章将深入探讨SIP的四大扩展机制——自定义方法、新增状态码、头域扩展与框架级支撑体系,揭示这些机制如何协同工作以支持高级业务功能如呼叫转接、事件通知、隐私控制和多方会话管理。
通过分析标准化流程、互操作性挑战及实际部署中的兼容性问题,我们将展示SIP不仅是静态信令协议,更是一个动态演化、面向服务集成的通信平台。尤其对于具备五年以上经验的开发者与系统架构师而言,理解这些扩展机制背后的工程权衡与协议演进逻辑,是构建高可用、可维护且符合行业规范的实时通信系统的必要前提。
6.1 自定义方法的引入与兼容性处理
SIP方法(Method)决定了请求的操作类型,标准方法如 INVITE 、 BYE 、 REGISTER 构成了基本会话生命周期控制的基础。然而,在真实业务场景中,仅靠这些原生方法难以满足复杂的交互需求。为此,SIP提供了扩展方法机制,允许引入新的语义操作,例如INFO用于传输DTMF信号,REFER用于发起呼叫转移,SUBSCRIBE/NOTIFY用于实现事件订阅模型等。
6.1.1 INFO、REFER、SUBSCRIBE、NOTIFY等扩展方法的功能演进
早期SIP主要聚焦于点对点会话建立,但随着统一通信(UC)系统的发展,需要支持更多异步、事件驱动的交互模式。这催生了若干关键扩展方法:
- INFO :定义于RFC 2976,用于在已建立的会话中传输控制信息,如DTMF音、传真信号或自定义应用数据。它不改变会话状态,仅作为“带外”信令通道使用。
- REFER :由RFC 3515定义,表示请求接收方联系第三方资源。典型应用于呼叫转接(Call Transfer),其中主叫方发送REFER请求指向目标号码,被叫方可据此发起新呼叫。
- SUBSCRIBE / NOTIFY :基于RFC 6665的事件通知框架,实现观察者模式。用户代理可通过SUBSCRIBE订阅特定事件(如在线状态presence、留言等待MWI),服务器则通过NOTIFY推送更新。
这些方法共同构建了一个丰富的服务生态,使SIP超越单纯“拨打电话”的范畴,向智能化通信平台演进。
示例:REFER实现盲转与咨询转
以下是一个典型的盲转(Blind Transfer)流程中的REFER请求示例:
REFER sip:bob@domain.com SIP/2.0
Via: SIP/2.0/TCP client.domain.com;branch=z9hG4bKabc123
Max-Forwards: 70
From: <sip:alice@domain.com>;tag=12345
To: <sip:bob@domain.com>
Call-ID: ref-987654321@client.domain.com
CSeq: 1 REFER
Refer-To: <sip:charlie@domain.com>
Referred-By: <sip:alice@domain.com>
Contact: <sip:alice@client.domain.com>
Allow: INVITE, ACK, CANCEL, OPTIONS, BYE, REFER, SUBSCRIBE, NOTIFY
Supported: replaces
Content-Length: 0
代码逻辑逐行解读:
- REFER sip:bob@domain.com SIP/2.0 :指定目标为Bob,并使用SIP/2.0版本。
- Refer-To: <sip:charlie@domain.com> :指示Bob应拨打Charlie。
- Referred-By :标识发起转接的用户Alice,提供审计线索。
- Supported: replaces :表明支持replaces机制,可用于咨询转(Attended Transfer),即先建立与Charlie的通话再释放原会话。
该请求触发Bob的UA自动向Charlie发起呼叫,完成转接动作。若需实现咨询转,则通常结合 Replaces 头域与 BYE 操作,确保无缝切换。
常用SIP扩展方法对比 
REFER盲转完整信令流
sequenceDiagram
participant Alice
participant Bob
participant Charlie
Alice->>Bob: REFER(Refer-To: Charlie)
Bob->>Charlie: INVITE(SDP)
Charlie-->>Bob: 180 Ringing
Charlie-->>Bob: 200 OK(SDP)
Bob->>Charlie: ACK
Bob->>Alice: 202 Accepted
Note right of Bob: 会话从Alice-Bob切换至Bob-Charlie
该流程描绘了REFER如何解耦原始会话并引导新会话建立。
6.1.2 扩展方法的注册机制与IETF标准化流程
尽管SIP允许私有方法使用,但为了保证跨厂商互操作性,任何希望广泛采纳的扩展方法都应通过IETF正式注册。IANA维护着 SIP Methods Registry ,所有标准方法在此登记,并分配唯一的字符串名称。
注册流程如下:
1. 提交Internet-Draft文档,详细描述方法语义、消息语法、错误处理与安全考虑;
2. 经过SIP相关工作组(如 DISPATCH、DRASTIC)评审;
3. 发布为RFC草案,接受社区反馈;
4. 最终批准为正式RFC,录入注册表。
例如, PUBLISH 方法最初由私有实现推动,后经RFC 3903标准化,成为presence信息发布的核心手段。
参数说明与实践建议:
- 私有方法可使用非标准名称(如 X-CUSTOM-METHOD ),但不应出现在公共网络中;
- 使用 Allow 头域声明本地支持的方法集,便于对方协商;
- 在 Unsupported 响应中明确拒绝未知方法,返回489 Bad Event。
此外,UAC应在发送未知方法前探测对方能力,可通过 OPTIONS 请求获取 Allow 和 Supported 头域信息,避免盲目发送导致失败。
6.2 新增状态码的定义原则与使用场景
SIP状态码沿袭HTTP风格,分为六类(1xx~6xx),每类代表不同的处理阶段。虽然标准已涵盖大多数常见情况,但在特定业务逻辑下仍需引入新状态码以传达精确语义。
6.2.1 487 Request Terminated与603 Decline的业务语义区分
两个常被混淆的状态码是 487 Request Terminated 和 603 Decline ,它们虽均表示请求失败,但语义完全不同:
- 487 Request Terminated :由CANCEL触发或内部超时导致请求提前终止。它不是终端用户的主动拒接,而是会话建立过程被中断的结果
sip CANCEL sip:bob@domain.com SIP/2.0 ... SIP/2.0 487 Request Terminated Via: SIP/2.0/TCP proxy.example.com;...
- 603 Decline :终端用户明确拒绝接听,相当于“我听见了,但我不会接”。常用于自动应答系统或策略引擎判断后返回。
sip SIP/2.0 603 Decline Reason: Q.850; cause=21
两者的关键区别在于因果关系: 487 是外部中止行为的结果,而 603 是UA自身的决策输出。
注意:6xx类状态码一旦返回,整个请求链即告终结,不再尝试其他地址。
6.2.2 私有状态码的合理使用边界与互操作风险
尽管理论上可定义私有状态码(如 X-490 ),但IANA明确规定所有标准状态码必须在100–699范围内且不得重复。实践中,厂商有时会在日志或内部调试中使用非标准数值,但这极易引发解析异常。
更安全的做法是利用 Reason 头域携带补充信息:
SIP/2.0 480 Temporarily Unavailable
Reason: SIP; cause=480; text="User is in DND mode"
或结合 Warning 头域传递上下文:
Warning: 370 "Call blocked by policy engine"
逻辑分析:
- 直接修改状态码数值会导致下游代理误解处理逻辑;
- 使用标准码+扩展头域能保持协议兼容性;
- 应用层可根据 Reason 字段做精细化路由决策。
因此,即便面对特殊业务逻辑,也应优先复用现有状态码并通过附加头域丰富语义,而非创造新码。
CANCEL与487生成机制
sequenceDiagram
participant UAC
participant Proxy
participant UAS
UAC->>Proxy: INVITE
Proxy->>UAS: INVITE
UAS-->>Proxy: 180 Ringing
UAC->>Proxy: CANCEL
Proxy->>UAS: CANCEL
UAS-->>Proxy: 200 OK(to CANCEL)
UAS-->>Proxy: 487 Request Terminated
Proxy-->>UAC: 487 Request Terminated
UAC->>Proxy: ACK
该图揭示了 487 并非直接响应 CANCEL ,而是对原始 INVITE 的最终否定回应,强调了事务状态机的完整性。
6.3 头域扩展机制与X-前缀的实践争议
SIP头域是元数据载体,负责控制路由、认证、媒体协商等功能。当标准头域不足以表达新需求时,可通过扩展头域实现。
6.3.1 P-Headers与Privacy头域的隐私保护功能
营商级网络常使用P-Headers(P-Asserted-Identity, P-Called-Party-ID等)在可信域内传递断言身份信息,防止篡改。
例如:
P-Asserted-Identity: <sip:alice@enterprise.com>
Privacy: id, header
- P-Asserted-Identity :由入口SBC插入,标识经过验证的主叫身份;
- Privacy :指示哪些信息需匿名化处理(如隐藏From头域)。
此类头域虽非全局标准,但在IMS(IP Multimedia Subsystem)架构中被广泛采用。
6.3.2 自定义头域(X- headers)的设计建议与弃用趋势
历史上,开发者习惯用 X- 前缀命名私有头域(如 X-Custom-Token )。然而,IETF已在RFC 6648中明确反对这一做法,理由包括:
- 缺乏命名空间管理,易冲突;
- 阻碍后续标准化路径;
- 误导用户认为“X-”具有特殊语义。
替代方案是申请官方参数名或使用URN命名空间:
X-Legacy-Identifier → MyApp-Identifier
推荐命名规范 
6.4 SIP扩展框架(RFC 3261扩展机制)的技术支撑体系
SIP的可扩展性并非零散拼凑,而是建立在RFC 3261定义的坚实框架之上,主要包括:
- Option Tags :通过 Supported 、 Require 、 Unsupported 头域协商能力;
- MIME Type Negotiation : Accept , Accept-Encoding , Accept-Language ;
- Feature-Tags in URIs :如 sip:user@host;transport=tcp?priority=high ;
- Capability Discovery via OPTIONS :探测远端支持的功能集。
例如,一个支持会议服务的UA可在 REGISTER 中声明:
Contact: <sip:ua@ip:port>;+sip.instance="<urn:uuid:...>"
Supported: eventlist, refer, gruu
其中 +sip.instance 是GRUU(Globally Routable User Agent URI)的一部分,用于唯一标识软终端实例。
扩展协商流程图
graph TD
A[UAC发送OPTIONS] --> B{Proxy转发}
B --> C[UAS]
C --> D[返回200 OK]
D --> E[包含Allow, Supported, Accept]
E --> F[UAC缓存能力集]
F --> G[后续请求启用扩展方法]
这一机制确保只有双方均支持某项扩展时才启用,极大提升了系统的健壮性与兼容性。
综上所述,SIP扩展机制不仅提供了语法层面的自由度,更通过严谨的协商与注册流程保障了长期可维护性。对于资深工程师而言,掌握这些机制意味着能够设计出既能满足当下业务需求,又能平滑演进至未来架构的通信系统。
7. SIP安全性实现
7.1 信令层面的安全加固措施
SIP作为明文传输的文本协议,默认通过UDP或TCP在5060端口上传输信令,极易受到窃听、篡改和伪装攻击。为保障通信安全,必须对信令层实施加密与身份验证机制。
TLS加密通道的建立过程 是提升SIP信令安全性的首要手段。当使用 sips: URI方案时,客户端必须通过TLS(Transport Layer Security)连接到服务器,通常绑定于端口5061。该过程遵循标准的TLS握手流程:
sequenceDiagram
participant UAC
participant Proxy
UAC->>Proxy: TCP连接至5061
Proxy->>UAC: 发送证书(含公钥)
UAC->>Proxy: 验证证书有效性(CA链、有效期、域名匹配)
UAC->>Proxy: 生成预主密钥并用公钥加密发送
Proxy->>UAC: 解密获得预主密钥,协商会话密钥
UAC->>Proxy: 开始加密SIP消息传输(如REGISTER)
在此模式下,所有SIP请求与响应均在加密隧道中传输,防止中间人攻击(MITM)。部署时需确保:
- 使用由可信CA签发的X.509证书;
- 禁用弱加密套件(如SSLv3、RC4);
- 启用双向认证(mTLS),要求客户端也提供证书。
HTTP Digest认证 则用于用户身份验证,广泛应用于REGISTER和INVITE请求。其工作流程如下:
- 客户端发送未认证的 REGISTER 请求;
- 服务器返回 401 Unauthorized ,携带 WWW-Authenticate 头域,包含 realm、nonce 等参数;
- 客户端计算哈希值: HA1 = MD5(username:realm:password) , HA2 = MD5(method:uri) ,最终响应为 response = MD5(HA1:nonce:HA2) ;
- 将 Authorization 头域填入后重试请求;
- 服务器比对计算结果,通过则注册成功。
示例头域:
WWW-Authenticate: Digest realm="sip.example.com", nonce="abcd1234", algorithm=MD5
Authorization: Digest username="alice", realm="sip.example.com",
nonce="abcd1234", uri="sip:sip.example.com",
response="c8d5a0f3e2b1e8d6a7c4f9e2d8a1b2c3"
此机制避免密码明文传输,但依赖共享密钥,无法抵御重放攻击,建议结合 nonce 超时与随机数防重机制增强安全性。
7.2 媒体流的端到端保护机制
尽管信令可被加密,媒体流(RTP)若未加保护,仍可能被网络嗅探。因此, SRTP(Secure Real-time Transport Protocol) 成为媒体安全的核心技术。
SRTP 提供加密、消息认证与重放保护,其密钥分发主要有两种方式:

SDES 在SDP中直接传递密钥( a=crypto: 属性),例如:
a=crypto:1 AES_CM_128_HMAC_SHA1_80 inline:PSDjfGdLkFjWnOlzIfQx+ZRMKlYyMzXrN++
虽简单易行,但存在密钥明文暴露风险,尤其在非加密SIP信令中极为危险。
ZRTP 则基于Diffie-Hellman密钥交换,在媒体通道上独立协商密钥,不依赖信令完整性。支持“短认证字符串”(SAS)人工比对,防御MITM攻击,典型用于Signal、Jitsi等应用。
DTLS-SRTP 是WebRTC的标准选择。它利用UDP上的DTLS握手建立安全上下文,并从中导出SRTP密钥。流程如下:
# 伪代码:DTLS-SRTP密钥提取逻辑
def derive_srtp_keys(dtls_master_secret):
client_write_key = PRF(master_secret, "client write key", salt)[:16]
server_write_key = PRF(master_secret, "server write key", salt)[:16]
client_salt = PRF(master_secret, "client salt", salt)[:14]
server_salt = PRF(master_secret, "server salt", salt)[:14]
return {
'client_key': concat(client_write_key, client_salt),
'server_key': concat(server_write_key, server_salt)
}
浏览器自动完成此过程,开发者仅需配置RTCPeerConnection参数即可启用。
7.3 防御常见攻击手段技术对策
SIP系统面临多种恶意行为,需从网络层到应用层构建纵深防御体系。
SIP Flood攻击 指攻击者以高速发送大量INVITE或REGISTER请求,耗尽服务器资源。应对策略包括:
- 限流机制 :基于IP/用户粒度限制每秒请求数;
- 挑战式防御 :对可疑请求返回 423 Interval Too Brief 或要求重新认证;
- 黑名单联动 :结合Fail2ban等工具自动封禁异常源。
Register Spoofing 即伪造用户注册,劫持号码。检测方法有:
- 校验Contact头域IP是否与传输源一致;
- 记录历史注册位置,识别异地突变;
- 强制使用TLS + mTLS进行设备认证。
SBC(Session Border Controller) 可执行深度包检测(DPI),识别异常SIP结构,如:
- 非法方法名(如”SCAN”);
- 缺失必要头域(Call-ID、CSeq);
- Via环路检测(Max-Forwards耗尽);
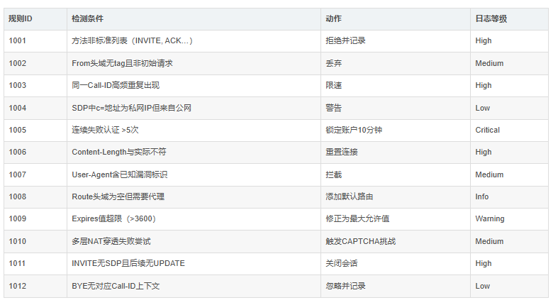
典型SBC安全规则表(部分):

7.4 安全策略综合部署方案
构建高安全等级的SIP系统需采用多维度协同防护。
零信任架构下的访问控制模型 强调“永不信任,始终验证”。每个UA必须:
- 携带设备证书(mTLS);
- 通过OAuth 2.0或JWT获取短期访问令牌;
- 在每次关键操作前进行多因素认证(MFA)。
例如,注册流程可设计为:
1. 设备启动 → 获取设备证书(来自HSM或TEE);
2. 连接配置服务器 → 下载策略与证书;
3. 向SIP Proxy发起TLS连接 → 完成双向认证;
4. 发送REGISTER → 附带JWT断言(含用户身份、设备指纹、地理位置);
5. 授权引擎评估风险评分 → 决定是否放行。
日志审计与监控体系 应集中采集以下数据:
- 所有SIP消息(脱敏处理);
- TLS握手详情(协议版本、加密套件);
- 认证尝试记录(成功/失败、IP、时间戳);
- 媒体路径信息(ICE候选地址变化);
- 密钥轮换事件(SRTP/SDES/ZRTP);
推荐使用ELK(Elasticsearch + Logstash + Kibana)或Splunk进行可视化分析。
证书与密钥管理最佳实践 包括:
- 自动化证书签发(ACME协议);
- SRTP密钥定期轮换(每通话一次更新);
- 私钥存储于硬件安全模块(HSM);
- 吊销机制(OCSP/CRL)实时生效;
- 审计密钥使用轨迹(谁、何时、何地解密);
最终形成“信令加密 + 媒体保护 + 行为监控 + 动态授权”的立体安全闭环。
更多推荐


所有评论(0)