ooderNexus 实测揭秘:一个正在成长的 P2P AI 能力分发平台
ooderNexus 的OpenWrt 集成是目前最完整的功能模块。系统状态监控(CPU、内存、温度、运行时间)网络配置管理(接口、DHCP、防火墙)IP 地址管理(静态/动态分配)远程命令执行配置文件管理ooderNexus 实现了完整的MD5 哈希去重:相同文件只存储一份版本控制:文件修改自动创建新版本原子操作:临时文件+重命名机制,防止数据损坏内存缓存:热点文件缓存加速局域网设备自动发现设备
本文基于 ooderNexus 2.0 版本实测,客观展示已实现功能和待完善之处
开篇:ooderNexus 是什么?
ooderNexus 是一个基于 Spring Boot + Java 8 开发的 P2P AI 能力分发枢纽,采用 MIT 开源协议。它的目标是让用户能够在本地网络中构建私有的 AI 能力共享平台,实现去中心化的 AI 技能管理和分发。
技术栈:
- 后端:Spring Boot 2.7.0 + Java 8
- P2P 网络:Ooder Agent SDK 0.6.6
- 存储:VFS 虚拟文件系统 + JSON
- OpenWrt 集成:SSH/UCI 命令
项目地址:https://github.com/oodercn/ooder-Nexus
实测环境
- 操作系统:Windows 10/11
- Java 版本:JDK 8+
- 启动方式:java -jar ooder-nexus-2.0.jar
- 访问地址:http://localhost:8091/console/index.html
一、OpenWrt 集成:项目的亮点功能 ⭐
1.1 功能概述
ooderNexus 的 OpenWrt 集成 是目前最完整的功能模块。通过 SSH 连接到 OpenWrt 路由器,可以实现:
- 系统状态监控(CPU、内存、温度、运行时间)
- 网络配置管理(接口、DHCP、防火墙)
- IP 地址管理(静态/动态分配)
- 远程命令执行
- 配置文件管理
1.2 实测截图

1.3 实测体验
优点:
- ✅ 支持多版本 OpenWrt(19/21/22/23)
- ✅ SSH 连接稳定,支持连接池管理
- ✅ 配置管理灵活,支持 UCI 命令和原始配置文件
- ✅ 批量操作功能实用
实测代码片段:
// DefaultOpenWrtBridge 核心实现,2296 行代码
public class DefaultOpenWrtBridge implements OpenWrtBridge {
// 支持 55 个接口方法
@Override
public SystemStatus getSystemStatus() {
// 执行 SSH 命令获取系统状态
String result = executeCommand("cat /proc/loadavg; free | grep Mem");
return parseSystemStatus(result);
}
}
复制
二、存储管理:VFS 虚拟文件系统
这一块的实现比较简陋,但作为openWrt 版本,估计复杂的存储应该会在nas 版本中推出。
2.1 功能概述
ooderNexus 实现了完整的 VFS(Virtual File System) 虚拟文件系统,特点包括:
- MD5 哈希去重:相同文件只存储一份
- 版本控制:文件修改自动创建新版本
- 原子操作:临时文件+重命名机制,防止数据损坏
- 内存缓存:热点文件缓存加速
2.2 实测截图

2.3 实测体验
优点:
- ✅ 文件上传下载稳定
- ✅ 版本控制功能实用,可以回溯历史版本
- ✅ 存储空间统计清晰
存储目录结构:
storage/
├── data/cache/{hash} # 文件内容(MD5哈希存储)
├── sdk/ # SDK 核心数据
├── network/ # 网络配置
└── tasks/ # 任务数据
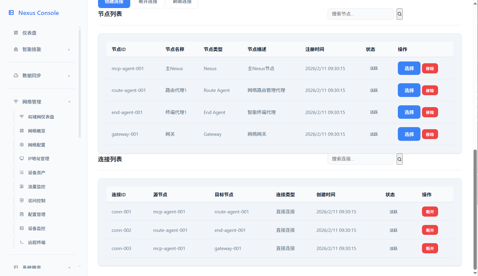
三、设备管理:局域网设备发现
3.1 功能概述
设备管理模块支持:
- 局域网设备自动发现
- 设备详情查看
- 设备远程控制
- 网络拓扑展示
- IP 地址管理
3.2 实测截图
3.3 实测体验
优点:
- ✅ 设备发现速度快
- ✅ 设备信息展示完整
- ✅ 拓扑图直观清晰
四、P2P 网络:基础框架已搭建 ⚠️
从代码上看是完善的有实现的,但当前预览版本,仅仅开放了部分mock 的数据,从json 上看数据是真实数据,加上其前期发布的,skillcenter 在正式版中能够完美切换。现阶段程序实现如下:
4.1 功能概述
P2P 网络模块目前处于 基础框架阶段:
- 节点发现(本地模拟实现)
- 节点管理(本地存储)
- 技能发布/订阅(本地存储)
- 技能市场(本地模拟)
4.2 实测发现
当前状态:
- ⚠️ P2PNetworkController 被注释,REST API 未暴露
- ⚠️ 目前是本地模拟模式,非真正的 P2P 通信
- ⚠️ 前端无 P2P 网络管理页面
代码现状:
// P2PServiceImpl 中的实现
@Override
public List<NodeInfo> discoverNodes() {
// 当前是本地模拟实现
List<NodeInfo> mockNodes = new ArrayList<>();
// 返回模拟节点数据
return mockNodes;
}
复制
4.3 改进建议
要实现真正的 P2P 功能,需要:
- 启用 P2PNetworkController
- 实现基于 UDP/TCP 的节点发现
- 实现节点间通信协议
- 开发前端 P2P 网络管理界面
五、AI 技能中心:框架待完善 ⚠️
5.1 功能概述
AI 技能中心目前实现了基础框架:
- 技能接口定义 ✅
- 技能同步服务 ✅
- 技能发布/订阅(本地存储)✅
- 技能市场(本地模拟)✅
- 技能执行引擎✅
- LLM 集成 ❌
5.2 实测截图
5.3 实测发现
当前局限:
- 技能管理主要是本地数据操作
- 具有基本的 AI 执行能力
- LLM 集成有相关配置但未实际接入

改进方向:
- 集成 OpenAI/Claude/本地 LLM
- 实现技能执行引擎
- 支持技能参数传递和结果返回
六、协议仿真:框架完整,前端待完善 ⚠️
6.1 功能概述
协议仿真模块实现了完整的后端框架:
- ProtocolHub 协议中枢 ✅
- MCP/Route/End 协议适配器 ✅
- 协议注册/注销 ✅
- 命令处理框架 ✅

6.2 代码展示
// ProtocolHubImpl 核心实现
@Component
public class ProtocolHubImpl implements ProtocolHub {
private Map<String, ProtocolHandler> handlers = new ConcurrentHashMap<>();
@Override
public void registerProtocol(String protocolType, ProtocolHandler handler) {
handlers.put(protocolType, handler);
}
@Override
public ProtocolResponse processCommand(ProtocolCommand command) {
ProtocolHandler handler = handlers.get(command.getProtocolType());
return handler.handle(command);
}
}
复制
七、系统监控与安全管理:待实现 ❌
7.1 系统监控
当前状态:
- ❌ HealthCheckService 只有接口定义
- ❌ SystemStatusService 只有接口定义
- ❌ 性能指标监控未实现
- ❌ 告警管理未实现
7.2 安全管理
当前状态:
- ❌ SecurityService 只有接口定义
- ❌ 访问控制未实现
- ❌ 黑白名单未实现
- ❌ 安全审计未实现
八、实测总结
8.1 已实现的亮点功能 ⭐
|
功能模块 |
完成度 |
评价 |
|
OpenWrt 集成 |
95% |
项目亮点,功能完整 |
|
存储管理 |
90% |
VFS 实现完善 |
|
设备管理 |
85% |
局域网管理完整 |
|
协议框架 |
80% |
后端框架完整 |
8.2 待完善的功能 ⚠️
|
功能模块 |
完成度 |
评价 |
|
P2P 网络 |
40% |
本地模拟,需实现真正通信 |
|
AI 技能 |
50% |
框架存在,需集成 LLM |
|
系统监控 |
20% |
主要是接口定义 |
|
安全管理 |
10% |
框架存在 |
8.3 适用场景
当前适合:
- ✅ OpenWrt 路由器管理
- ✅ 局域网设备管理
- ✅ 本地文件存储管理
- ✅ 开发测试和原型验证
暂不适合:
- ❌ 生产环境 P2P 网络
- ❌ AI 技能执行
- ❌ 企业级安全需求
九、快速体验指南
9.1 启动服务
# 下载项目
git clone https://github.com/oodercn/ooder-Nexus.git
# 进入目录
cd ooder-Nexus
# 启动服务
java -jar release/ooder-nexus-2.0.jar
复制
9.2 访问控制台
浏览器打开:http://localhost:8091/console/index.html
9.3 添加 OpenWrt 设备
- 进入「OpenWrt 管理」页面
- 点击「添加设备」
- 填写路由器 IP、用户名、密码
- 保存并连接
结语
ooderNexus 是一个有潜力的开源项目,OpenWrt 集成和存储管理功能已经相当成熟。虽然 P2P 网络和 AI 技能功能还在开发中,但基础框架已经搭建完成。
如果你是:
- OpenWrt 用户 → 可以立即使用,路由器管理功能完善
- 开发者 → 可以参与贡献,尤其是 P2P 和 AI 功能
- 技术爱好者 → 可以关注和体验,项目正在快速成长
项目地址:https://github.com/oodercn/ooder-Nexus
Gitee 镜像:https://gitee.com/ooderCN/ooder-nexus
许可证:MIT
免责声明:本文基于 ooderNexus 2.0 版本实测,客观展示功能现状。项目正在积极开发中,功能可能会持续更新完善。
更多推荐





所有评论(0)