AI生成泳道图:大学生课设/毕设高效通关神器
AI生成泳道图:大学生课设/毕设高效工具 针对计算机专业学生在课设、毕设中绘制泳道图的痛点,本文介绍了AI生成泳道图的高效解决方案。该工具通过自然语言处理技术,将用户需求自动转化为规范的泳道图,解决了手动绘制耗时长、规范难把控等问题。 核心优势包括: 一键生成:输入自然语言描述即可快速输出规范泳道图 专业适配:严格遵循行业规范,符合论文要求 零门槛:无需学习专业绘图工具和规范 灵活修改:支持需求变
AI生成泳道图:大学生课设/毕设高效通关神器,技术原理全解析


工具地址:https://draw.anqstar.com/template
前言:课设毕设里的泳道图,为何成了“耗时重灾区”?
对于计算机专业的大学生而言,无论是课程设计、课程论文,还是毕业答辩,泳道图都是高频出现的“标配元素”——需求分析、系统设计、业务流程梳理、模块交互展示,几乎每一个环节都离不开它。作为一种能清晰划分角色、明确流程节点的可视化工具,泳道图既能让导师快速get你的设计思路,也能让论文/课设的逻辑更严谨、更具专业性。
但实际操作中,很多同学都被泳道图“卡了壳”:手动绘制时,要反复调整泳道宽度、节点位置,稍有疏忽就会出现流程混乱、角色与任务不匹配的问题;不熟悉泳道图规范,分不清“泳道”与“阶段”的区别,画出来的图不符合论文要求,反复修改耗时又耗力;课设/毕设时间紧张,花大量时间在绘图上,反而挤压了核心代码编写、功能调试的时间。
有没有一种方式,能让我们跳过繁琐的手动操作,快速生成规范、美观,且符合论文要求的泳道图?AI生成泳道图功能,正是为解决这个痛点而来——它不仅能帮大学生节省绘图时间,还能保证泳道图的专业性,让我们把更多精力放在核心设计上。
一、技术背景与问题引入:大学生绘图痛点深度拆解
1.1 泳道图在大学生作业/课设/毕设中的核心作用
在计算机专业的各类实践任务中,泳道图的应用场景几乎无处不在,其核心价值体现在三个方面:
一是需求梳理:在课设初期,通过泳道图划分不同角色(如用户、管理员、系统模块)的职责,清晰梳理业务流程,避免需求遗漏,为后续的系统设计奠定基础;二是逻辑展示:论文中插入规范的泳道图,能直观呈现模块交互、数据流转过程,让导师快速理解你的设计思路,提升论文的专业性;三是答辩加分:美观、规范的泳道图的,能体现出你的严谨性,在答辩中成为加分项,避免因绘图不规范被导师质疑。
无论是软件工程、数据库课程设计,还是毕业设计中的系统开发,泳道图都是不可或缺的可视化工具,其质量直接影响作业/论文的评分。
1.2 大学生手动绘制泳道图的四大核心痛点
1.2.1 耗时费力,挤压核心任务时间
手动绘制泳道图,需要反复调整泳道布局、节点位置、连接线样式,甚至要手动标注每个节点的说明。对于时间紧张的大学生而言,一篇论文可能需要插入2-3张泳道图,手动绘制往往需要花费数小时,甚至一整天,大量时间浪费在绘图上,导致核心的代码编写、功能调试、论文撰写时间被挤压,影响整体进度。
1.2.2 规范不清,反复修改仍不达标
泳道图有明确的绘制规范,比如泳道的划分规则、节点的命名规范、连接线的使用要求、角色与任务的对应关系等。但很多同学刚接触泳道图,对规范不熟悉,绘制时容易出现“泳道划分混乱”“节点命名不规范”“流程逻辑断层”等问题,导致绘制完成后,被导师要求反复修改,不仅耗时,还容易打击积极性。
1.2.3 美观度不足,影响论文整体质感
手动绘制时,很难保证泳道图的美观度——泳道宽度不一致、节点大小不均、连接线弯曲混乱,甚至出现文字重叠、排版杂乱的情况。这样的泳道图插入论文中,会降低论文的整体质感,甚至可能被导师认为态度不严谨,影响评分。
1.2.4 小白入门难,学习成本高
对于刚接触泳道图的大一、大二学生,或者非软件工程专业的计算机相关学生而言,需要先花时间学习泳道图的概念、规范、绘制方法,再熟练使用绘图工具(如Visio、DrawIO),学习成本较高。很多同学即便学会了基础操作,也很难快速绘制出符合论文要求的泳道图。
1.3 需求核心:高效、规范、低成本的泳道图生成方案
结合大学生的实际场景,我们对泳道图生成的核心需求可以总结为三点:一是高效,能快速生成泳道图,节省绘图时间;二是规范,生成的泳道图符合行业规范和论文要求,无需反复修改;三是低成本,无需花费大量时间学习绘图工具和规范,小白也能快速上手。AI生成泳道图功能,正是基于这三点需求,针对性解决大学生的绘图痛点。
二、功能介绍:AI生成泳道图,小白也能快速出图
2.1 核心功能:一句话生成规范泳道图
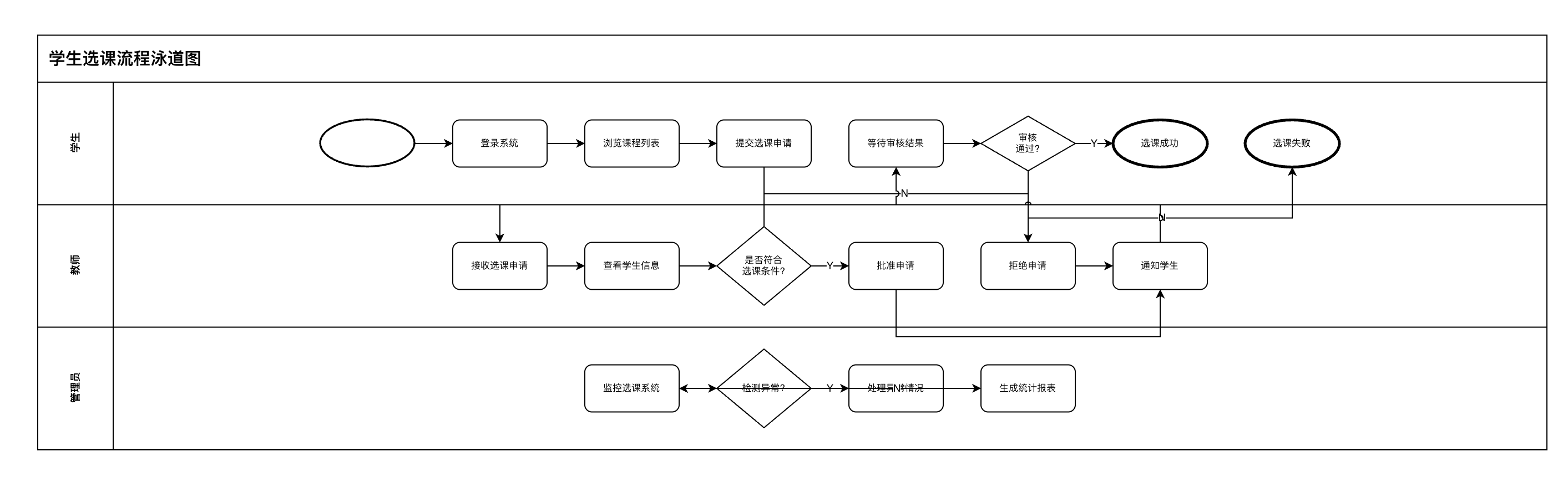
AI生成泳道图的核心功能,就是通过自然语言描述,快速生成符合规范的泳道图——无需手动拖拽泳道、添加节点,也无需熟悉绘图工具,只需输入你的需求(比如“课设:图书管理系统的借阅流程泳道图,角色包括用户、管理员、系统,流程包括用户查询图书、提交借阅申请、管理员审核、系统登记借阅信息”),AI就能自动识别角色、梳理流程,生成规范、美观的泳道图。
2.2 适配大学生场景的核心特性
2.2.1 规范适配,贴合论文/课设要求
针对大学生作业、课设、毕设的需求,AI生成的泳道图严格遵循行业规范,同时适配各类论文的排版要求——泳道划分清晰、节点命名规范、连接线逻辑连贯,可直接导出高清图片插入论文,无需手动调整格式,避免因绘图不规范被导师修改。
2.2.2 小白友好,零学习成本上手
无需学习Visio、DrawIO等复杂绘图工具,也无需背诵泳道图绘制规范,只需用日常语言描述你的需求,AI就能完成全部绘图工作。即便是刚接触泳道图的大一学生,也能在1分钟内生成符合要求的泳道图。
2.2.3 快速修改,灵活适配需求变更
课设/毕设过程中,需求往往会反复调整,对应的泳道图也需要随之修改。AI生成泳道图支持“一键修改”——只需修改你的自然语言描述(比如“增加‘用户归还图书’流程”“删除‘管理员审核’节点”),AI就能快速重新生成泳道图,无需手动删除、调整节点,大幅节省修改时间。
2.2.4 多格式导出,适配各类场景
生成的泳道图支持PNG、JPG、SVG等多种格式导出,高清无模糊,可直接插入Word论文、PPT答辩课件,也可用于课程作业的提交,适配大学生的各类使用场景。同时,支持泳道图的二次编辑,若对AI生成的布局、样式有细微不满,可手动微调,兼顾高效与灵活。
2.3 与手动绘图、传统绘图工具的对比优势
为了更清晰地体现AI生成泳道图的优势,我们从“耗时、规范度、学习成本、美观度”四个核心维度,对比其与手动绘图、传统绘图工具(Visio、DrawIO)的差异:
手动绘图:耗时久(单张图1-2小时)、规范度低(易出错)、学习成本低(无需学工具)、美观度差;
传统绘图工具:耗时较长(单张图30分钟-1小时)、规范度高(需手动把控)、学习成本高(需熟练操作工具)、美观度高(需手动调整);
AI生成泳道图:耗时极短(单张图1分钟内)、规范度高(AI自动把控)、学习成本极低(无需学工具、无需记规范)、美观度高(AI自动排版)。
不难看出,AI生成泳道图完美适配大学生“时间紧、要求高、零成本”的核心需求,是课设、毕设、课程作业的高效绘图神器。
三、原理说明:AI如何生成规范、美观的泳道图?
很多同学可能会好奇:为什么AI能听懂我们的自然语言描述,还能生成符合规范的泳道图?其实,这背后离不开“自然语言处理(NLP)”与“泳道图核心逻辑建模”的协同作用,结合泳道图的技术本质,我们从核心原理、技术细节两个层面,为大家拆解AI生成泳道图的底层逻辑,兼顾干货与易懂性,小白也能看懂。
3.1 先搞懂基础:泳道图的核心技术概念
在拆解AI生成原理之前,我们先明确泳道图的核心技术概念——这也是大学生论文中常考、常需用到的知识点,掌握这些,不仅能理解AI生成的原理,还能提升论文中泳道图相关内容的专业性。
3.1.1 泳道图的定义与核心价值
泳道图(Swimlane Diagram),又称跨职能流程图,是一种特殊的流程图,它将流程中的不同角色、部门或系统模块,以“泳道”(横向或纵向的分区)的形式划分开来,每个泳道代表一个独立的责任主体,流程中的每个任务、节点,都对应到具体的泳道中,清晰呈现“谁做什么、怎么做、流程如何流转”。
其核心价值在于“分责与可视化”——相较于普通流程图,泳道图能更清晰地划分角色职责,避免职责混乱,同时直观呈现流程中的交互关系,适合用于复杂业务流程、系统模块交互的梳理,这也是它被广泛应用于大学生课设、毕设的核心原因。
3.1.2 泳道图的核心组成元素(必学,论文高频考点)
无论手动绘制还是AI生成,泳道图的核心组成元素都是固定的,掌握这些元素,能帮你更好地把控泳道图的规范度,也能更精准地向AI描述你的需求:
1. 泳道(Swimlane):核心分区元素,分为横向泳道(角色横向排列)和纵向泳道(角色纵向排列),大学生论文中常用纵向泳道。每个泳道都有明确的名称,对应一个责任主体(如“用户”“管理员”“图书管理模块”“数据库模块”)。
2. 节点(Node):流程中的核心操作单元,分为三种核心类型:开始节点(流程的起点,通常用圆形表示)、任务节点(具体的操作,通常用矩形表示,如“用户提交借阅申请”)、结束节点(流程的终点,通常用圆形或双圆形表示)。
3. 连接线(Connector):用于连接不同节点,呈现流程的流转方向,通常用带箭头的直线表示,若流程存在分支(如“审核通过/审核失败”),则用分支连接线表示,需标注分支条件。
4. 说明文本(Annotation):用于补充节点、泳道的相关信息,避免流程模糊,如在“管理员审核”节点旁标注“审核时长不超过1个工作日”,大学生论文中,说明文本可根据需求添加,提升泳道图的清晰度。
3.1.3 泳道图的绘制规范(大学生必看,避免论文踩坑)
这是大学生手动绘制泳道图时最容易出错的地方,也是AI生成泳道图时的核心遵循依据,掌握这些规范,能让你的泳道图更符合论文要求:
1. 泳道命名规范:泳道名称需简洁、明确,直接对应责任主体,避免模糊表述(如“管理员”而非“负责审核的人”,“图书管理模块”而非“系统模块”);
2. 节点命名规范:任务节点需用“动词+名词”的形式命名,清晰体现操作内容(如“查询图书”“提交申请”,而非“图书查询”“申请提交”);
3. 流程逻辑规范:流程需从开始节点出发,到结束节点终止,逻辑连贯,无断层、无循环漏洞;同一泳道内的节点,需遵循“从上到下、从左到右”的顺序,避免交叉、混乱;
4. 样式规范:泳道宽度、节点大小需保持一致,连接线需简洁、笔直,避免弯曲过多;开始节点、任务节点、结束节点的样式需区分清晰,不混淆。
3.2 AI生成泳道图的核心原理:三大技术步骤拆解
AI生成泳道图的核心逻辑,是“将自然语言需求,转化为符合泳道图规范的可视化元素,并自动完成排版”,整个过程分为三大核心步骤,每一步都贴合泳道图的技术本质,同时兼顾大学生的使用场景需求。
3.2.1 第一步:自然语言解析(NLP)——听懂你的绘图需求
这是AI生成泳道图的基础步骤,核心是通过自然语言处理(NLP)技术,解析用户输入的需求文本,提取出泳道图所需的核心信息——角色(泳道)、任务(节点)、流程顺序(连接线),相当于“AI读懂你的绘图想法”。
具体来说,AI会通过以下两个核心操作,完成需求解析:
1. 关键词提取与分类:AI会自动识别需求文本中的关键词,并按照“泳道关键词”“节点关键词”“流程关键词”进行分类。比如用户输入“毕设:在线购物系统的下单流程泳道图,角色有用户、商家、支付系统、物流系统,流程是用户浏览商品、加入购物车、提交订单、支付系统验证支付、商家确认订单、物流系统发货,最后订单完成”,AI会提取出:
泳道关键词:用户、商家、支付系统、物流系统;
节点关键词:浏览商品、加入购物车、提交订单、验证支付、确认订单、发货、订单完成;
流程关键词:先、后、然后(确定节点的流转顺序)。
2. 语义理解与逻辑梳理:对于大学生而言,输入的需求可能不够规范(比如表述混乱、遗漏流程),AI会通过语义理解技术,梳理出流程的核心逻辑,补充遗漏的关键节点(如用户提交订单后,默认补充“支付系统接收订单”节点),修正流程顺序(如用户先浏览商品,再加入购物车,避免出现逻辑颠倒),确保流程连贯、符合实际场景。
同时,AI会结合大学生论文的常用场景,自动优化关键词表述,使其符合泳道图规范(如将“付钱”优化为“提交支付请求”,将“商家接单”优化为“商家确认订单”),避免因关键词不规范,导致泳道图不符合论文要求。
3.2.2 第二步:泳道图元素映射——将需求转化为可视化元素
在解析完自然语言需求后,AI会将提取到的核心信息,与泳道图的核心组成元素进行映射,相当于“AI把你的想法,转化为泳道图的具体组件”,这一步是AI生成泳道图的核心,也是贴合泳道图技术本质的关键步骤。
具体映射规则,完全遵循我们之前提到的泳道图规范,同时适配大学生的使用习惯:
1. 泳道映射:将提取到的“角色/模块”关键词,直接映射为泳道,自动排序(大学生论文中,通常按照“用户→管理员→系统模块”的顺序排列泳道),并生成规范的泳道名称,确保泳道划分清晰、符合需求。
2. 节点映射:将提取到的“任务”关键词,映射为任务节点,同时自动区分开始节点和结束节点(如流程的第一个任务,自动设为开始节点;最后一个任务,自动设为结束节点),节点名称优化为“动词+名词”的规范形式,避免模糊表述。
3. 连接线映射:根据提取到的“流程顺序”关键词,以及AI梳理后的逻辑,将不同节点用连接线连接起来,标注流转方向;若需求中存在分支流程(如“审核通过→下一步,审核失败→返回修改”),AI会自动生成分支连接线,并标注分支条件,确保流程逻辑清晰、无断层。
此外,AI会自动处理“角色与任务的对应关系”——将每个任务节点,精准对应到所属的泳道中(如“浏览商品”对应“用户”泳道,“验证支付”对应“支付系统”泳道),避免出现“任务与泳道不匹配”的问题,这也是大学生手动绘制时最容易出错的地方。
3.2.3 第三步:自动排版与规范校验——生成可直接使用的泳道图
完成元素映射后,AI并不会直接生成泳道图,还会进行“自动排版”和“规范校验”,确保生成的泳道图,不仅符合规范,还美观、整洁,可直接插入论文使用,这一步完美解决了大学生手动绘制时“排版杂乱、规范不符”的痛点。
1. 自动排版:AI会根据泳道的数量、节点的多少,自动调整泳道宽度、节点大小,确保所有元素排版均匀、无重叠;连接线自动优化为笔直、简洁的样式,避免弯曲过多、交叉混乱;节点按照“从上到下、从左到右”的顺序排列,贴合泳道图的绘制规范,同时保证美观度。
针对大学生论文的排版需求,AI会自动适配论文的页面比例,生成高清图片,确保插入Word后,不会出现模糊、拉伸的情况,无需手动调整尺寸。
2. 规范校验:AI会通过内置的“泳道图规范校验模型”,对生成的泳道图进行全面校验,排查各类不规范问题,相当于“AI帮你提前检查,避免被导师修改”。校验的核心内容包括:
(1)泳道规范:泳道名称是否清晰、是否存在重复泳道;
(2)节点规范:节点名称是否为“动词+名词”形式、开始节点和结束节点是否唯一、节点是否对应正确的泳道;
(3)流程规范:流程是否连贯、是否存在逻辑断层、分支条件是否清晰;
(4)样式规范:泳道宽度、节点大小是否一致、连接线是否清晰、无交叉。
若排查出不规范问题,AI会自动修正(如修改节点名称、调整泳道顺序、优化连接线样式);若存在无法自动修正的问题(如需求表述模糊),AI会提示用户补充需求,确保生成的泳道图,完全符合大学生论文、课设的要求。
3.3 关键技术亮点:为什么AI生成的泳道图更适配大学生?
相较于传统绘图工具,AI生成泳道图的核心优势,不仅在于“高效”,更在于其技术设计贴合大学生的使用场景,解决了大学生的核心痛点,这背后离不开两个关键技术亮点:
3.3.1 场景化模型训练——精准适配课设/毕设需求
AI生成泳道图的模型,在训练过程中,融入了大量大学生课设、毕设、课程作业中的泳道图案例(如图书管理系统、在线购物系统、学生管理系统等常见课设项目的泳道图),同时结合大学生论文的泳道图规范,进行针对性训练。
这意味着,AI能精准识别大学生的需求表述习惯(比如“毕设用”“课设流程”“符合论文规范”),自动适配大学生的使用场景,生成的泳道图,无论是泳道划分、节点命名,还是排版样式,都贴合论文要求,无需手动修改。
3.3.2 零门槛交互设计——小白也能精准描述需求
考虑到很多大学生是泳道图小白,AI生成泳道图在交互设计上,采用了“零门槛自然语言输入”模式,无需用户掌握专业的绘图术语、无需规范表述,只需用日常语言描述需求,AI就能精准解析。
比如,小白用户输入“我要做课设,画一个学生请假流程的泳道图,有学生、辅导员、教务处,学生请假,辅导员审批,审批过了教务处登记,审批不过就驳回”,AI就能精准提取核心信息,生成符合规范的泳道图,无需用户补充任何专业术语,真正实现“零学习成本上手”。
四、总结:AI生成泳道图,让大学生专注核心设计
对于计算机专业的大学生而言,泳道图是课设、毕设、课程作业中的“高频工具”,但手动绘制耗时费力、规范难把控,传统绘图工具学习成本高,往往会挤压我们的核心任务时间。AI生成泳道图功能,并非简单的“绘图工具”,而是基于自然语言处理技术与泳道图核心逻辑,为大学生量身打造的高效工具。
它不仅能帮我们快速生成规范、美观的泳道图,节省大量绘图时间,让我们把更多精力放在核心的代码编写、论文撰写上;还能通过内置的规范校验,帮我们避免绘图不规范的问题,提升论文/课设的专业性,在答辩中加分。
更重要的是,通过了解AI生成泳道图的原理,我们还能深入掌握泳道图的核心概念、绘制规范,这些知识点不仅能帮我们更好地使用AI工具,还能提升我们的专业能力,为后续的学习、工作奠定基础。
无论是泳道图小白,还是需要快速完成课设、毕设的大学生,AI生成泳道图都能成为你的“高效通关神器”,让泳道图绘制不再成为负担,专注做好自己的核心设计。
更多推荐




所有评论(0)