计算机毕业设计springboot智慧商城 基于SpringBoot的“慧购”一体化电商运营平台 融合大数据与AI的SpringBoot轻量级智能零售系统
线上购物早已成为日常,但“千人一面”的商品瀑布、滞后的库存同步、割裂的售前售后,依旧让消费者和商家同时抓狂。把“智慧”真正写进商城,而不仅是把柜台搬到网页,成了这次毕业设计的原动力。系统以SpringBoot为骨架、MySQL为仓库、Vue为门面,B/S架构让维护成本直接腰斩;从登录注册到AI推荐,从商品上架到物流签收,全流程在一个界面里跑通。核心功能一览用户侧:首页轮播、商品检索、智能推荐、购物
计算机毕业设计springboot智慧商城h72nzrc7 (配套有源码 程序 mysql数据库 论文)
本套源码可以在文本联xi,先看具体系统功能演示视频领取,可分享源码参考。
线上购物早已成为日常,但“千人一面”的商品瀑布、滞后的库存同步、割裂的售前售后,依旧让消费者和商家同时抓狂。把“智慧”真正写进商城,而不仅是把柜台搬到网页,成了这次毕业设计的原动力。系统以SpringBoot为骨架、MySQL为仓库、Vue为门面,B/S架构让维护成本直接腰斩;从登录注册到AI推荐,从商品上架到物流签收,全流程在一个界面里跑通。
核心功能一览
用户侧:首页轮播、商品检索、智能推荐、购物车、收藏夹、地址簿、订单中心、在线支付、物流跟踪、评论/晒单、留言板、优惠券领取、秒杀专区、个人资料维护。
商家侧:店铺装修、商品发布/批量导入、价格库存同步、订单发货、售后处理(退/换/维修)、营销工具(拼团、秒杀、优惠券)、数据看板(销量、访客、转化)。
平台侧:会员管理、商家审核与等级、商品分类与品牌、广告位与公告、支付渠道、物流商对接、敏感词过滤、系统日志、可视化报表、权限角色、定时任务(结算、库存预警)。
一句话收束:把“逛、选、买、卖、管”浓缩进同一套代码,让商城不再只是网页,而是一套会思考、可生长的零售大脑。
注:以上是纯课题毕业设计功能介绍,并非实际开发完成,最终开发完成的毕业设计程序以下面的的环境软件、功能图和界面为准。
系统所需要的环境软件:idea、eclipse+mysql5.7、8.0+Navicat+JDK1.8+tomcat7.0
系统用例分析
智慧商城系统综合网络空间开发设计要求。目的是将智慧商城系统将传统管理方式转换为在网上管理,完成智慧商城管理的方便快捷、安全性高、交易规范做了保障,目标明确。智慧商城系统可以将功能划分为管理员功能和用户功能。
(1)、管理员关键功能包含个人中心、用户管理、商家管理、商品分类管理、商品信息管理、留言板、系统管理、订单管理等进行管理。管理员用例如下:

图3-1 管理员用例图
(2)、商家关键功能包含个人中心、商品信息管理、订单管理等进行管理。商家用例如下:

图3-2 商家用例图
(3)、用户注册登录系统首页点击个人中心可以对个人中心、修改密码、我的订单、我的地址、我的收藏等进行管理。用户用例如下:

图3-3 用户用例图
3.5系统流程分析
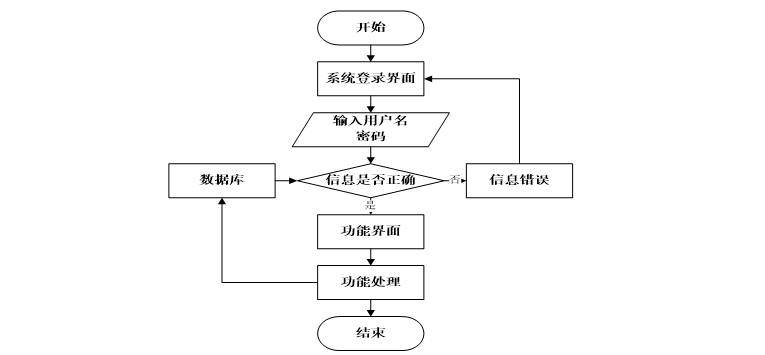
3.5.1 用户登录流程
登录流程实现了管理员和用户的登录,在登录页面需要用户填写自己的信息,前端页面会将信息传递给后端接口,然后查询数据库确定该身份有效后登录成功,否则此用户登录失败,需要重新填写信息,进行再次验证,如图3-4所示。

图3-4登录流程图
3.5.2 系统操作流程
系统操作流程分析是软件开发过程中的一个关键环节,它是整个系统整体的运行过程,必须保证其中的每一个步骤都是确定的,这样一个规范的流程图可以使开发者易于理解,快速的投入到接口开发中,从而提升系统开发效率。
同时,流程图还能减少开发者对系统操作流程产生歧义和降低沟通的成本,系统操作流程如图3-5所示。

图3-5系统操作流程图
3.6小结
智慧商城系统旨在让用户能够轻松便捷的管理系统信息,让管理员的工作负担减轻。本章主要对系统的经济、技术、法律、市场可行性进行分析。确认可行后,对智慧商城系统进行了需求分析和流程分析,从用户和管理员角度思考了可能会有的需求,是后续论文和应用开发的基础指导。
4 系统总体设计
4.1系统功能结构设计图
系统采用了结构化开发的方法。这种开发方法的优点是控制性比较强,开发过程中采用了结构化和模块化的设计思想,自顶向下,从总体到部分,合理划分系统的结构和模块。结构化开发时使用模块式开发,各模块之间互不影响,方便系统的开发与管理。 系统总体功能如下图所示:

图 4-1系统总体功能模块图
4.2 数据库设计与实现
在每一个系统中数据库有着非常重要的作用,数据库的设计得好将会增加系统的效率以及系统各逻辑功能的实现。所以数据库的设计我们要从系统的实际需要出发,才能使其更为完美的符合系统功能的实现。
4.2.1 概念模型设计
概念模型是对现实中的问题出现的事物的进行描述,ER图是由实体及其关系构成的图,通过E-R图可以清楚地描述系统涉及到的实体之间的相互关系。本文将“用户、商家、订单、商品信息、留言板、公告信息”等作为实体,它们的局部E-R图,如图4-2所示:

图4-2局部E-R图
系统详细设计与实现
按照软件工程的流程来说,在系统的详细设计与实现阶段,要把模块、视图、模板进行相应的组合完成一个个所需的功能,此章将会把设计中模块一一说明如何设计和实现的。
5.1系统功能实现
当人们打开系统的网址后,首先看到的就是首页界面。在这里,人们能够看到系统的导航条,通过导航条导航进入各功能展示页面进行操作。系统首页界面如图5-1所示:

图5-1 系统首页界面
在注册流程中,用户在Vue前端填写必要信息(如用户名、密码等)并提交。前端将这些信息通过HTTP请求发送到Java后端。后端处理这些信息,检查用户名是否唯一,并将新用户数据存入MySQL数据库。完成后,后端向前端发送注册成功的确认,前端随后通知用户完成注册。这个过程实现了新用户的数据收集、验证和存储,系统注册页面如图5-2所示:

图5-2系统注册页面
公告信息,在公告信息页面的输入栏中输入标题进行查询,可以查看到公告详细信息,并进行点赞或收藏操作;公告信息页面如图5-3所示:

图5-3公告信息详细页面
个人中心,在个人中心页面输入个人信息可以进行更新操作,还可以对个人中心、修改密码、我的订单、我的地址、我的收藏进行操作;如图5-4所示:

图5-4 个人中心界面
5.2后台模块实现
在登录流程中,用户首先在Vue前端界面输入用户名和密码。这些信息通过HTTP请求发送到Java后端。后端接收请求,通过与MySQL数据库交互验证用户凭证。如果认证成功,后端会返回给前端,允许用户访问系统。这个过程涵盖了从用户输入到系统验证和响应的全过程。如图5-5所示。

图5-5 后台登录界面
5.2.1管理员功能实现
管理员进入主页面,主要功能包括对个人中心、用户管理、商家管理、商品分类管理、商品信息管理、留言板、系统管理、订单管理等进行操作。管理员主页面如图5-6所示:

图5-6 管理员主界面
用户管理功能在视图层(view层)进行交互,比如点击“查询、添加或删除”按钮或填写用户管理表单。这些用户管理表单动作被视图层捕获并作为请求发送给相应的控制器层(controller层)。控制器接收到这些请求后,调用服务层(service层)以执行相关的业务逻辑,例如验证输入数据的有效性和与数据库的交互。服务层处理完这些逻辑后,进一步与数据访问对象层(DAO层)交互,后者负责具体的数据操作如查看、修改或删除用户信息,并将操作结果返回给控制器。最终,控制器根据这些结果更新视图层,以便用户管理功能可以看到最新的信息或相应的操作反馈。如图5-7所示:

图5-7用户管理界面
商家管理功能在视图层(view层)进行交互,比如点击“查询、添加或删除”按钮或填写商家管理表单。这些商家管理表单动作被视图层捕获并作为请求发送给相应的控制器层(controller层)。控制器接收到这些请求后,调用服务层(service层)以执行相关的业务逻辑,例如验证输入数据的有效性和与数据库的交互。服务层处理完这些逻辑后,进一步与数据访问对象层(DAO层)交互,后者负责具体的数据操作如查看、修改或删除商家信息,并将操作结果返回给控制器。最终,控制器根据这些结果更新视图层,以便商家管理功能可以看到最新的信息或相应的操作反馈。如图5-8所示:

图5-8商家管理界面
商品分类管理功能在视图层(view层)进行交互,比如点击“查询、添加或删除”按钮或填写商品分类管理表单。这些商品分类管理表单动作被视图层捕获并作为请求发送给相应的控制器层(controller层)。控制器接收到这些请求后,调用服务层(service层)以执行相关的业务逻辑,例如验证输入数据的有效性和与数据库的交互。服务层处理完这些逻辑后,进一步与数据访问对象层(DAO层)交互,后者负责具体的数据操作如查看、修改或删除商品分类信息,并将操作结果返回给控制器。最终,控制器根据这些结果更新视图层,以便商品分类管理功能可以看到最新的信息或相应的操作反馈。如图5-9所示:

图5-9商品分类管理界面
留言板管理功能在视图层(view层)进行交互,比如点击“查询或删除”按钮或填写留言板管理表单。这些留言板管理表单动作被视图层捕获并作为请求发送给相应的控制器层(controller层)。控制器接收到这些请求后,调用服务层(service层)以执行相关的业务逻辑,例如验证输入数据的有效性和与数据库的交互。服务层处理完这些逻辑后,进一步与数据访问对象层(DAO层)交互,后者负责具体的数据操作如查看、修改、回复或删除留言板信息,并将操作结果返回给控制器。最终,控制器根据这些结果更新视图层,以便留言板管理功能可以看到最新的信息或相应的操作反馈。如图5-10所示:

图5-10留言板管理界面
5.2.2商家功能实现
商家进入主页面,主要功能包括对个人中心、商品信息管理、订单管理等进行操作。商家主页面如图5-11所示:

图5-11 商家主界面
源码无偿分享,文未领取
更多推荐



所有评论(0)