weixin181基于微信小程序的乡村政务服务系统springboot(源码)_kaic
本文介绍了乡村政务服务系统的实现过程与相关技术。系统采用B/S架构,基于SSM框架(Spring+SpringMVC+MyBatis)开发,使用MySQL数据库存储数据,通过MyEclipse开发工具实现。系统功能包括用户信息管理和预约项目管理模块,提供增删改查等操作。技术选型方面,考虑到Java语言的易用性、MySQL的高效性以及Tomcat服务器的轻量级特性。系统分析部分从技术、经济和操作三个
第5章 系统实现
进入到这个环节,也就可以及时检查出前面设计的需求是否可靠了。一个设计良好的方案在运用于系统实现中,是会帮助系统编制人员节省时间,并提升开发效率的。所以在系统的编程阶段,也就是系统实现阶段,对于一些不合理的设计需求,也是可以及时发现。因为设计的方案是完全指导系统的编码过程的。
5.1用户信息管理
如图5.1显示的就是用户信息管理页面,此页面提供给管理员的功能有:用户信息的查询管理,可以删除用户信息、修改用户信息、新增用户信息,
还进行了对用户名称的模糊查询的条件


图5.1 用户信息管理页面
5.2 预约项目管理
如图5.2显示的就是预约项目管理页面,此页面提供给管理员的功能有:查看已发布的预约项目数据,修改预约项目,预约项目作废,即可删除,还进行了对预约项目名称的模糊查询 预约项目信息的类型查询等等一些条件。


图5.2 预约项目管理页面
第2章 开发环境与技术
基于web的乡村政务服务系统的编码实现需要搭建一定的环境和使用相应的技术,接下来的内容就是对基于web的乡村政务服务系统用到的技术和工具进行介绍。
2.1 MYSQL数据库
本课题所开发的应用程序在数据操作方面是不可预知的,是经常变动的,没有办法直接把数据写在文档里,这样不仅仅不安全,也不能实现应用程序的功能。如果要能实现应用程序所需要的数据存储功能,就避免不了要进行专业数据库存储软件的选择。基本上应用程序实现的功能不算太复杂,市面上任何一个关系型数据库软件都可以实现。参考自己的学习进度和操作习惯来讲,Oracle数据库是适合的,但是所需要的的安装软件很大,并且有好多不需要的功能都是开启的状态,十分消耗电脑资源,所以没有选择Oracle数据库,而SQL Server数据库虽然学过,但是安装的时候因为电脑上可能有其他的软件存在,经常性的出问题,而安装问题不好解决就需要重新安装操作系统,这样对已经存在的软件来讲又是一种时间上的浪费。只有MySQL数据库,安装包小,安装速度快,操作简单,哪怕安装出问题也好解决,不用重装操作系统,也不影响电脑上运行的其他软件,消耗资源也少,最重要的是在功能方面完全的符合设计需要,所以最后选择了MySQL数据库作为应用软件开发需要的数据库。
2.2 Java语言
Java语言发展有25年多了,在互联网行业经过这么多年的发展,还依然在市场的占有率上有半壁江山,依然受到很多程序员的喜爱,好多从业人员进行学习,随着互联网从业人员的增加,并没有降低Java语言的江湖地位,算是一个常青藤。Java语言学习很简单,当然这是针对于前辈C++来讲的,C++语言相当的强悍。Java取消了很多C++特征,比如go to这些语句,还有取消了主文件,让所有的文件都是类,类里都是数组和各种对象,还让Java自己处理各种对象的引用和回收,让开发人员只需要创建对象,使用对象,编辑代码逻辑,不需要关注性能方面,让数据的各种存储交给Java自己处理,可以花更多的时间研究应用程序之间的关系,让开发变得更专注,就像赛车的驾驶员一样,只需要了解各种车辆的性能,并且进行操作,不需要研究轱辘如何制造,这样让程序开发更加的细化。
2.3 微信小程序技术
小程序并非凭空冒出来的一个概念。当微信中的 WebView 逐渐成为移动 Web 的一个重要入口时,微信就有相关的 JS API 了。
实际上,微信官方是没有对外暴露过如此调用的,此类 API 最初是提供给腾讯内部一些业务使用,很多外部开发者发现了之后,依葫芦画瓢地使用了,逐渐成为微信中网页的事实标准。2015年初,微信发布了一整套网页开发工具包,称之为 JS-SDK,开放了拍摄、录音、语音识别、二维码、地图、支付、分享、卡券等几十个API。给所有的 Web 开发者打开了一扇全新的窗户,让所有开发者都可以使用到微信的原生能力,去完成一些之前做不到或者难以做到的事情。
JS-SDK是对之前的 WeixinJSBrige 的一个包装,以及新能力的释放,并且由对内开放转为了对所有开发者开放,在很短的时间内获得了极大的关注。从数据监控来看,绝大部分在微信内传播的移动网页都使用到了相关的接口。
JS-SDK 解决了移动网页能力不足的问题,通过暴露微信的接口使得 Web 开发者能够拥有更多的能力,然而在更多的能力之外,JS-SDK 的模式并没有解决使用移动网页遇到的体验不良的问题。用户在访问网页的时候,在浏览器开始显示之前都会有一个的白屏过程,在移动端,受限于设备性能和网络速度,白屏会更加明显。我们团队把很多技术精力放置在如何帮助平台上的Web开发者解决这个问题。因此我们设计了一个 JS-SDK 的增强版本,其中有一个重要的功能,称之为“微信 Web 资源离线存储”
这个设计有点类似 HTML5 的 Application Cache,但在设计上规避了一些 Application Cache的不足。
在内部测试中,我们发现 离线存储 能够解决一些问题,但对于一些复杂的页面依然会有白屏问题,例如页面加载了大量的 CSS 或者是 JavaScript 文件。除了白屏,影响 Web 体验的问题还有缺少操作的反馈,主要表现在两个方面:页面切换的生硬和点击的迟滞感。
微信面临的问题是如何设计一个比较好的系统,使得所有开发者在微信中都能获得比较好的体验。这个问题是之前的 JS-SDK 所处理不了的,需要一个全新的系统来完成,它需要使得所有的开发者都能做到:
快速的加载
更强大的能力
原生的体验
易用且安全的微信数据开放
高效和简单的开发
2.4 SSM框架
SSM框架不是一个框架的名称,而是三个框架的首字母缩写,分别是Spring框架、SpringMVC框架、MyBatis框架。是目前Java开发者中学习的首选框架。
Spring框架继承了JavaEE和EJB框架的优点,在依赖注入方面去掉了臃肿的配置,在面向切面方面也简化了代码数量,提高了代码品质。依赖注解进行配置,让所有的依赖都可以通过程序的自动配置和寻找,减少了代码写作数量,提高了代码阅读性。
SpringMVC框架与Spring只是一个公司的,在底层代码结构上可以复用,但是最主要的功能是对数据提交请求进行过滤,并且对数据的返回进行过滤,不限于页面是微信小程序技术,也可以是其他的技术,更容易大型开发的集合技术。
MyBatis框架摒弃了Hibernate框架的配置臃肿方面,有时候Hibernate框架业务比较复杂的时候,代码量反而增加,性能下降,无法对底层的数据库语句优化,而MyBatis框架则有效的解决了这个方面,可以通过Java语句,对数据库操作语句进行优化,代码更简洁,执行效率更高,并且可以生产一些模块化代码,解决了开发过程中容易出现的实体映射方面的操作。
2.5 B/S架构
B/S架构是软件行业针对C/S架构来进行区分的,用来描述浏览器与服务器之间的一种架构模式。一般选择B/S架构最主要的原因就是方便维护,当程序开发的时候,可以在本地进行测试,一般的集成开发环境都自带的有开发和一键部署,本地浏览器可以及时的看到效果,测试人员有专门的服务器,只需要部署上去即可,如果中间有问题都可以进行整改的。应用程序升级,只需要后台维护代码即可,客户方面还是用之前的浏览器进行访问,所以客户端方面是很方便的。现在市面上基本上所有的操作系统平台只要是有视窗模式的,除了命令行操作界面的窗口之外,在视窗模式都是可以安装浏览器的,所以任何带视窗模式的电脑操作系统自带的浏览器或者是其他厂家的浏览器,或者是移动端的浏览器,都可以进行访问服务器的。访问服务器占用客户端资源是很少,而且不容易出错,哪怕客户端这边出现大的问题,只需要重装系统然后再安装上浏览器即可。在程序功能和客户体验上面,选择B/S架构进行应用程序开发,是很适合当今社会的主流发展趋势的。
2.6 Tomcat 介绍
刚开始学习Java语言的时候,是不知道还有Tomcat这些东西的,各种语法各种输出在控制台进行输出结果,当Java网站开发的时候就不可避免的学习到了Tomcat服务器。Tomcat准确的来讲不算是服务器,可以说是微信小程序引擎或者一个容器,这些都是学术上或者原理上都比较贴切的,但是实际工作中Tomcat就是作为一个web服务器来用的,因为可以实现网站的发布和运行。因为工作原理的原因,Tomcat一般作为中小型企业和并发量并不突出的一种轻量级的服务器存在的,比如某些行业的应用系统,本身客户端就不多,需要的连接也不多,一般都用Tomcat的。Tomcat里面可以配置多个网站,配置文件后缀是config的文档,类似于XML的结构,比较清晰明了。每当Java发布新的版本的时候,Tomcat也会为了匹配Java的版本进行升级,目前Tomcat版本已经到版本10了。Tomcat标识是一只有点发黄的小猫咪,当Tomcat配置成功一般测试的时候能看到这个小猫咪就算是成功的,才能进行下一步的配置。Tomcat服务器在Java网站开发中还是挺合适的。
2.7 HTML简介
HTML是超文本标记语言,都是用各种声明以及对称性的的特殊符号作为标记,用以浏览器解析。HTML还有一些基本标签,比如根元素标签就是<html>,而文档元数据一般都写在了<head>标签里面,标题就是浏览器左上角的显示的网页内容,用的是<title>标签描述,<body>里是很重要的,描述的是浏览器显示的可见内容,如果想要在浏览器上面显示一些数据,那么肯定是要写在<body>标签里面的。关于定义标题或者换行以及段落,都有对应的标签。基本上各个浏览器都支持调试模式,一般都是用到了键盘上面用F12就可以看到标签形式的代码。
HTML作为一种超文本标记语言,是目前学习网站必须学习的第一门语言,要熟悉里面很多种标记,这种标记就是网页专属标记,只有这样浏览器才能解析相关信息。HTML里面包含了整整一套的标签,各种标签都有自己的功能,并且可以循环嵌套这些标签,比如一个表格里套着两个小小的表格。HTML一般文件名称的后缀都是html作为后缀,文档一般叫做web页面,里面的描述性标记语法被称为代码。
2.8 MyEclipse开发工具
MyEclipse是功能最全面的Java IDE。Java语言发展至今,已经与好多语言相互配合,并且各种语法都不一样,实现的效果不一样,造成现在的程序开发人员需要学习很多种语言,出现问题就解决问题,这是各种新的工具产生的一些动力。刚开始的Java需要自己安装开发环境和运行环境,然后手动新建文本,一句话一句话的进行编写,这样的功底需要极其的扎实,效率也是相当的低下,所以各种文本编辑工具就开始像雨后春笋一样的冒了出来,经过互联网的传播,大家使用后经过口碑,自然优胜略汰,大浪淘沙,到现在为止MyEclipse开发工具已经牢牢地占据了Java开发的半壁江山。MyEclipse的立足就是为了企业人员用的,企业开发讲究效率,不可能让所有的开发人员来了从电脑安装软件先开始,配置环境又需要花费太久的时间,MyEclipse就解决了这样的烦恼,只要安装了软件,各种Java程序都可以进行开发,可以对各种语法自动的进行检测,有效的提示细节处错误,并且可以在写作上面让对一些整段代码的移动复制都很便利,应用部署也是一键到位。
第3章 系统分析
面对即将开发的系统,进行提前的分析是必要的。这也是开发流程中必须有的环节。通常分析系统期间,主要涉及的内容包括系统开发可行性问题,对系统功能和性能的分析等问题。
3.1 可行性分析
在正式对需要建设的项目进行投资前,有一个比较关键的步骤是不能缺少的,那就是可行性分析。它主要从当前技术,经济等角度去评估系统的可行性,在投资决策中常常采用这种科学的方法来论证项目。
3.1.1 技术可行性
当前,系统开发的技术已经发展成熟,而且通过计算机网络可以获取开发工具的使用方法,以及规范化编写的模块化代码,这些知识可以帮助开发者顺利完成本系统的编码工作。
3.1.2 经济可行性
本系统开发期间需要配置的软件环境,可以免费通过开发类官网下载安装,需要配置的硬件设备也不需要具备很高的性能,通常网吧电脑,或学校计算机机房的电脑都符合要求。因此,从经济方面考虑,基于web的乡村政务服务系统开发可行。
3.1.3 操作可行性
基于web的乡村政务服务系统根据用户使用习惯进行开发,设计的界面具有统一性,并具备优秀的导航功能。所以,只要会简单操作电脑的人员,可以无压力操作基于web的乡村政务服务系统。
总之,从上述的论证来看,本系统可以开发。
3.2 系统流程
流程图这样的工具可以直观反映出系统内部的操作逻辑,可以帮助用户更好的理解系统。
3.2.1 操作流程
进入本系统需要访问者提供验证信息。验证合格的访问者才能获取访问资格。其具体的操作流程见下图。访问者根据登录界面设置的信息项如实填写,待信息通过验证后,访问者可以进入指定的页面享受本系统提供的服务和阅读本系统的相关信息。

图3.1 操作流程图
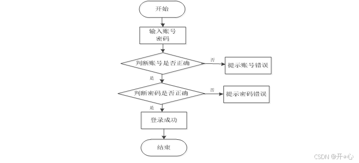
3.2.2 登录流程
本系统的登录模块,其内部的流程见下图。主要对访问本系统的人员提供的验证信息进行逐个判断,系统面对录入错误的信息会给出提示,比如,提示账号不对,或提示密码不匹配等提示信息。总之,在登录页面填写的所有信息都符合要求,访问者就登录成功了。

图3.2 登录流程图
更多推荐
所有评论(0)