java-springboot医疗健康档案信息可视化系统 基于SpringBoot的“健康云图”个人医疗数据可视化平台 Java技术栈下的“MedInsight”居民电子健康档案智能分析计算机毕业设计
java-springboot医疗健康档案信息可视化系统0tz3n013计算机毕业设计(配套有源码 程序 mysql数据库 论文)本套源码可以在文本联xi,先看具体系统功能演示视频领取,可分享源码参考。体检单、化验结果、就诊记录散落在不同医院,纸质病历难保存、难检索,医患双方都头疼。把数据汇聚到云端,用图表、曲线、雷达图让血压、血糖、BMI一目了然,再给出AI健康建议,才能真正做到“让数据为患者服
java-springboot医疗健康档案信息可视化系统0tz3n013计算机毕业设计(配套有源码 程序 mysql数据库 论文)
本套源码可以在文本联xi,先看具体系统功能演示视频领取,可分享源码参考。
体检单、化验结果、就诊记录散落在不同医院,纸质病历难保存、难检索,医患双方都头疼。把数据汇聚到云端,用图表、曲线、雷达图让血压、血糖、BMI一目了然,再给出AI健康建议,才能真正做到“让数据为患者服务”。系统采用 SpringBoot + Vue + MySQL 打造 B/S 架构,支持医生、用户、管理员三端同用,功能全集如下:
-
用户注册/登录/找回密码
-
个人中心(资料、头像、密码、我的收藏)
-
医生信息(工号、姓名、专业背景、从医年限、医院、资质证书、头像)
-
用户档案(账号、姓名、性别、年龄、电话、住址、身份证号、常用药物)
-
健康档案(用户关联、风险评估、风险等级、健康报告、日期、头像)
-
体检信息(身高、体重、视力、血糖、血压、医生建议、体检时间、医生关联)
-
健康建议(分类、内容、生活方式、健康状况、评估日期、头像)
-
就诊历史(就诊时间、检查治疗项目、临床诊断、处方、医嘱、病历)
-
医保信息(医保卡号、类型、住址、电话、头像)
-
健康知识分类与文章(标题、简介、分类、发布人、点赞、收藏、点击统计)
-
游戏论坛式“健康圈”帖子(标题、内容、置顶、状态、父子节点、头像)
-
帖子评论与回复
-
在线咨询(提问、回复、是否回复状态)
-
收藏功能(文章、帖子、档案一键收藏)
-
系统配置(参数、关于我们、轮播图)
-
操作日志与登录审计
-
后台Dashboard(用户活跃、体检趋势、风险分布、医生工作量)
一句话归纳:把散落的“数字碎片”拼成全景健康画像,让医生一眼掌握病史,让用户一眼看懂健康,让管理一眼看到趋势。
注:以上是纯课题毕业设计功能介绍,并非实际开发完成,最终开发完成的毕业设计程序以下面的的环境软件、功能图和界面为准。
系统所需要的环境软件:idea、eclipse+mysql5.7、8.0+Navicat+JDK1.8+tomcat7.0
3系统分析
3.1整体分析
系统的分析主要分为两种,一种是需求分析,需求分析的意义在于能更快地把这个系统的架构逻辑都整理分析清楚,另一种是功能分析,功能分析的意义在于分析如何更快地处理整个系统的细节部分。
根据查阅资料分析,医疗健康档案信息可视化系统主要是每个内部使用,为使用者提供可视化的医疗健康档案信息可视化来支撑服务。该系统管理系统的设计与实现主要是为了解决当前医疗健康档案信息可视化管理繁杂的问题,实现高效率的规范化管理。本系统的设计实现不仅要满足当前的需要,还需具备良好的可发展性以满足未来发展的需要。
本系统通过分模块设计,主要实现医生、用户、健康档案、健康建议、体检信息、医保信息、就诊历史、系统管理、用户信息等的一体化管理。此外,该系统属于B/S结构,简单易上手,只需体验几次,用户就可以很熟练地使用各种功能。
3.2功能需求分析
医疗健康档案信息可视化是现医疗健康档案管理一个重要的组成部分,本文将从医疗健康档案信息可视化管理的需求和现状进行分析,使得本系统的设计实现具有可使用的价。做出一个实用性好的医疗健康档案信息可视化系统,使其能满足医生和用户的需求,并可以让医生和用户更方便快捷地管理医疗健康档案信息可视化。医疗健康档案信息可视化系统的设计开发,目的主要是为了简化医疗健康档案信息可视化的管理过程,使管理员更好地完成工作,在工作中实现高效快捷的管理效率。
本文从医疗健康档案信息可视化管理的实际需要出发,为降低系统的耦合性,采用SPRINGBOOT框架集完成了系统总体架构的设计,以提高系统的重用性、可适用性及可维护性。系统包括管理员、医生和用户三个角色;
管理员用例如下所示:
图3-1 管理员用例图
医生用例如下所示:
图3-2 医生用例图
用户用例如下所示:
图3-3 用户用例图
3.3 系统可行性分析
3.3.1技术可行性
技术可行性研究通过是否,在于对目前技术和硬件设备的剖析。系统软件开发应用的计算机语种是Java。Java语言从问世到现在不断强化,已经十分完善。运用覆盖面广,合乎开发必须。应用MySQL数据库作为数据储存,十分具有安全性,对配备规定低。这是一个经常使用的数据库。前端采用Java技术,就可以进行开发设计,让网页页面看上去又漂亮又大方,还方便维护。最终,开发环境是IDEA,因为其中包含框架和函数等等,可以立即应用。因此在技术方面是可行的。
3.3.2经济可行性
经济发展的可行性分析要从开发商的经济发展能力和用户必须的成本费2个层面来剖析。为了更好地减少项目成本,系统软件应用IDEA做为开源版本。数据库查询是开源MySQL数据库和配置好操作系统的电子计算机。用户通常挑选Tomcat 7.0做为系统软件所处的网络服务器,而电脑浏览器应用出色的IE、火狐和Google更全方位地展现CSS网页页面,进而推动系统升级维护保养,控制成本。如此看来,处于经济层面的考虑,进行开发没有阻碍。
3.3.3操作可行性
本医疗健康档案信息可视化系统选用B/S构造,用户不用安装其他软件就可以轻轻松松掌握和娴熟应用。与此同时,因为系统是基于springboot的,可以实现客户端的请求和服务器的端口组件,解决数据库文件的数据并回到结论。为了更好地组建和储存数据,数据库可以确保数据的一致性。一旦对数据开展操作,工作会越来越更简易,工作量也会降低。全部操作都由系统自身操纵。该系统大大减少了有关工作人员的工作量,也更便捷的让工作人员掌握具体操作全过程。既加速了工作效率,又下降了错误率。在操作上是可行的。
经过总结,该系统在经济、技术和操作方面都符合要求,并且是具有可行性的。
3.4系统流程分析
3.4.1操作流程
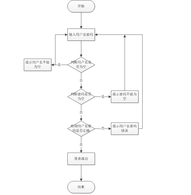
首先为系统登录页面。进入页面后,用户可进行登录和注册的操作。点击登录后,页面就会出现一个登录提示框,向用户传达信息:要进行用户名和密码的输入,完成后才可以进行下一步的操作。用户输入完成后,系统会将输入的信息提交给后台,与数据库中的信息记录进行比较判断。判断比较内容主要分为三个方面:从用户名是否为空、输入的密码是否为空、用户名和密码是否匹配三方面进行判断。只有上述三个条件同时满足,数据库中的信息匹配正确,才视为登陆成功,方可完成后续的操作。若以上三种情况有一条不满足,则会提示该次登录错误,就需要进行重新登录。系统登录流程图如图3-4所示:
图3-4登录流程图
3.4.2添加信息流程
然后是添加信息的页面。进入该页面后,页面会出现一个提示框,示意操作者可以进行信息的添加,从而进行下一步的操作。用户输入想要添加的信息后提交,系统会对输入的内容进行检测。如果检测后输入的信息正确,则会出现“添加成功”的提示框,从而可以进行下一步操作;如果系统检测后检测到想要添加的信息不符合规范要求,则会提示报错,需要进行修改后重新添加。添加信息流程图如图3-5所示:
图3-5添加信息流程图
3.4.3删除信息流程
最后为删除信息页面。进入该页面后,用户可以对所要删除的信息进行选择,选择好删除的内容后,会有一个“是否确认删除”的提示框,操作者可以根据自己的意愿来选择“是”或“否”。完成上述操作,系统会自动的对删除的内容进行判断,如果符合删除要求则会成功删除数据记录,并且更新数据库的内容信息;如果删除的数据记录不符合要求,则会有一个“删除失败”的提示框,操作人员需要根据提示来进行修改,修改完成后重新删除知道删除成功。删除信息流程图如图3-6所示:
图3-6删除信息流程图
4 系统设计
4.1 系统体系结构

图4-1系统结构
登录系统结构图,如图4-2所示:

图4-2登录结构图
4.2 系统总功能结构设计
系统按照用户的实际需求开发而来,贴近生活。从管理员通过正确的账号的密码进入系统,可以使用相关的系统应用。管理员总体负责整体系统的运行维护,统筹协调。
系统整体模块设计:系统分为管理员、医生和用户三大角色,系统管理员有最大的权限,总体功能展示如图4-3所示。

图4-3 系统总体功能图
4.3 数据库设计
数据库设计(Database Design)是针对特定的数据库管理体系,针对特定的数据库进行结构和构建的流程。
在信息系统的开发与推荐中,数据库的设计是实现数据库与应用的关键技术。因为数据库应用系统的复杂性,使得数据库的开发工作非常复杂,所以优化的设计不是一朝一夕就可以完成的,而是一个“循序渐进”的过程,即将数据库中的数据目标和它们的相互关系进行计划和组织。
通过对医疗健康档案信息可视化系统的主要功能信息进行规划并分为若干功能实体信息,实体信息将使用E-R图加以表示,在系统中将对 “管理员、用户、健康建议、健康知识”等几个主要的实体属性进行布局,如图4-2所示:

图4-2系统局部E-R图
5 系统详细设计
5.1前台功能实现
5.1.1系统首页页面
当人们打开系统的网址后,首先看到的就是首页界面。在这里,人们能够看到系统的导航条,通过导航条导航进入各功能展示页面进行操作。系统首页界面如图5-1所示:

图5-1 系统首页界面
在注册流程中,用户在Vue前端填写必要信息(如用户名、密码等)并提交。前端将这些信息通过HTTP请求发送到Java后端。后端处理这些信息,检查用户名是否唯一,并将新用户数据存入MySQL数据库。完成后,后端向前端发送注册成功的确认,前端随后通知用户完成注册。这个过程实现了新用户的数据收集、验证和存储。系统注册页面如图5-2所示:

图5-2系统注册页面
5.1.2个人中心
个人中心:在个人中心页面可以对个人中心、修改密码、健康档案、健康建议、体检信息、 医保信息、就诊历史、我的收藏进行详细操作;如图5-3所示:

图5-3个人中心界面
5.2后台模块实现
在登录流程中,用户首先在Vue前端界面输入用户名和密码。这些信息通过HTTP请求发送到Java后端。后端接收请求,通过与MySQL数据库交互验证用户凭证。如果认证成功,后端返回给前端,允许用户访问系统。这个过程涵盖了从用户输入到系统验证和响应的全过程。后台登录界面图5-4所示。

图5-4后台登录界面
5.2.1管理员功能实现
管理员进入主页面,主要功能包括对系统首页、医生、用户、健康档案、健康建议、体检信息、医保信息、就诊历史、系统管理、用户信息等进行操作。管理员主页面如图5-5所示:

图5-5管理员主界面
医生功能在视图层(view层)进行交互,比如点击“查询、添加或删除”按钮或填写医生信息表单。这些医生表单动作被视图层捕获并作为请求发送给相应的控制器层(controller层)。控制器接收到这些请求后,调用服务层(service层)以执行相关的业务逻辑,例如验证输入数据的有效性和与数据库的交互。服务层处理完这些逻辑后,进一步与数据访问对象层(DAO层)交互,后者负责具体的数据操作如查看、修改或删除医生信息,并将操作结果返回给控制器。最终,控制器根据这些结果更新视图层,以便医生功能可以看到最新的信息或相应的操作反馈。医生界面如图5-6所示:

图5-6医生管理界面
用户功能在视图层(view层)进行交互,比如点击“查询、添加或删除”按钮或填写用户信息表单。这些用户表单动作被视图层捕获并作为请求发送给相应的控制器层(controller层)。控制器接收到这些请求后,调用服务层(service层)以执行相关的业务逻辑,例如验证输入数据的有效性和与数据库的交互。服务层处理完这些逻辑后,进一步与数据访问对象层(DAO层)交互,后者负责具体的数据操作如查看、医保、就诊记录、修改或删除用户信息,并将操作结果返回给控制器。最终,控制器根据这些结果更新视图层,以便用户功能可以看到最新的信息或相应的操作反馈。用户界面如图5-7所示:

图5-7用户管理界面
管理员点击健康档案。在健康档案页面输入用户账号和选择风险评估进行查询或删除健康档案列表,并根据需要对健康档案详情信息进行查看、修改、提供建议或删除操作;如图5-8所示:

图5-8健康档案界面
管理员点击健康建议。在健康建议页面输入建议分类进行查询或删除健康建议列表,并根据需要对健康建议详情信息进行查看、修改或删除操作;如图5-9所示:

图5-9健康建议界面
管理员点击体检信息。在体检信息页面输入医生建议进行查询或删除体检信息列表,并根据需要对体检详情信息进行查看、修改、健康评估或删除操作;如图5-10所示:

图5-10体检信息界面
管理员点击就诊历史。在就诊历史页面输入就诊时间起始、就诊时间结束、遗嘱进行查询或删除就诊历史列表,并根据需要对就诊历史详情信息进行查看、修改或删除操作;如图5-11所示:

图5-11就诊历史界面
5.2.2用户功能实现
用户进入主页面,主要功能包括对系统首页、健康档案、健康建议、体检信息、医保信息、就诊历史、用户信息等进行操作。用户主页面如图5-12所示:

图5-12用户主界面
用户点击医保信息。在医保信息页面输入医保卡号和选择医保类型进行查询医保信息列表,并根据需要对医保详情信息进行查看操作;如图5-13所示:

图5-13医保信息界面
5.2.3医生功能实现
医生进入主页面,主要功能包括对系统首页、用户、健康档案、健康建议、体检信息、用户信息等进行操作。医生主页面如图5-14所示:

图5-14医生主界面
源码无偿分享,文未领取
更多推荐



所有评论(0)