GD32 单片机 硬件I2C死锁解决方法
【代码】GD32 单片机 硬件I2C死锁解决方法。
·
死锁的复现方式
- 在I2C恢复函数下个断点(检测到I2C多次超时之后,应该能跳转到I2C恢复函数)
- 使用镊子,将SCL与SDA短接,很快就能看到程序停到恢复函数的断点上,此时再执行恢复函数,看能否正常走出(可在回复函数中写个死循环,只有I2C正常才跳出,检测I2C正常的办法,可以读从设备的ID)
-
void HAL_I2C_MspInit(I2C_HandleTypeDef *i2cHandle) { GPIO_InitTypeDef GPIO_InitStruct = {0}; if (i2cHandle->Instance == I2C1) { /* USER CODE BEGIN I2C1_MspInit 0 */ /* USER CODE END I2C1_MspInit 0 */ __HAL_RCC_GPIOB_CLK_ENABLE(); GPIO_InitStruct.Pin = GPIO_PIN_6 | GPIO_PIN_7; GPIO_InitStruct.Mode = GPIO_MODE_OUTPUT_OD; GPIO_InitStruct.Pull = GPIO_NOPULL; GPIO_InitStruct.Speed = GPIO_SPEED_FREQ_HIGH; HAL_GPIO_Init(GPIOB, &GPIO_InitStruct); for (int i = 0; i < 10; ++i) { HAL_GPIO_WritePin(GPIOB, GPIO_PIN_6, GPIO_PIN_SET); HAL_Delay(1); HAL_GPIO_WritePin(GPIOB, GPIO_PIN_6, GPIO_PIN_RESET); HAL_Delay(1); } HAL_GPIO_WritePin(GPIOB, GPIO_PIN_6, GPIO_PIN_SET); HAL_GPIO_WritePin(GPIOB, GPIO_PIN_7, GPIO_PIN_SET); HAL_Delay(1); i2cHandle->Instance->CR1 |= I2C_CR1_SWRST; //复位I2C控制器 HAL_Delay(1); i2cHandle->Instance->CR1 = 0; //解除复位(不会自动清除) /**I2C1 GPIO Configuration PB6 ------> I2C1_SCL PB7 ------> I2C1_SDA */ GPIO_InitStruct.Pin = GPIO_PIN_6 | GPIO_PIN_7; GPIO_InitStruct.Mode = GPIO_MODE_AF_OD; GPIO_InitStruct.Pull = GPIO_PULLUP; GPIO_InitStruct.Speed = GPIO_SPEED_FREQ_VERY_HIGH; GPIO_InitStruct.Alternate = GPIO_AF4_I2C1; HAL_GPIO_Init(GPIOB, &GPIO_InitStruct); /* I2C1 clock enable */ __HAL_RCC_I2C1_CLK_ENABLE(); /* USER CODE BEGIN I2C1_MspInit 1 */ /* USER CODE END I2C1_MspInit 1 */ } } /* USER CODE BEGIN 1 */ void I2C_Reset() { HAL_I2C_MspDeInit(&hi2c1); hi2c1.State = HAL_I2C_STATE_RESET; MX_I2C1_Init(); // 硬件i2c会出现死锁,当超时次数达到一定数量,即很有可能是发生了死锁 // 所谓死锁是指主机与从机互相等待,主机以为总线在从机手上控制,从机以为总线在主机手上控制,一直再等待对方释放总线 }死锁的解决方法
- 释放IO口为GPIO,复位句柄状态标志,改为IO方式
- 将SDA改为高电平
- 将SCK发送9个时钟 为高电平时,测试SDA是否为低电平完成死锁。
通过模拟几种情形来实际体会一下(从机对SDA的操作红色表示):
如果在地址字节第9个CLK拉高后主机复位。在模拟的第一个时钟低电平期间就可以看到SDA的释放,随后主机先拉低SDA,再模拟一个STOP结束条件。

在数据字节第2个CLK拉高后主机复位,在第二个模拟的时钟低电平期间才看到SDA释放

在数据字节第6个CLK拉高后主机复位,在第三个模拟的时钟低电平期间才看到SDA释放

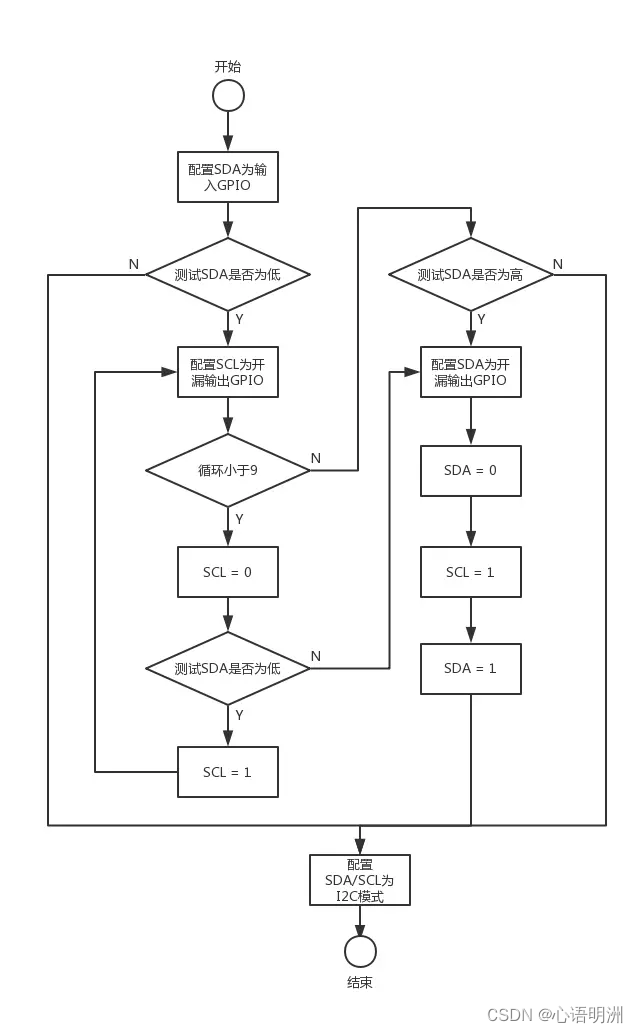
通过以上三种情况的分析,想必你已经非常清楚改如何处理了,最后附上一个程序处理流程图:

SCL挂死
I2C从机主动拉低SCL线在规范中是一个合法的行为,称之为Clock Stretching(时钟扩展,我一般叫他时钟同步)。通常是主机请求数据( 收或者发)后从机需要一些时间处理,且没有多余Buffer可以接收接或者提供接下来的数据的时候从机则会拉低SCL一段时间直到有新的数据准备好。
SCL挂死(也就是前面所说一直拉低SCL)这种情况在标准I2C从器件上基本不会出现,因为只要芯片还在正常工作buffer总算有准备好的时候,自然就就释放SCL了。往往是使用用户使用MCU作为I2C从机时,程序设计上的问题导致MCU无法读取&填充buffer而导致,重点分析MCU I2C中断服务程序。
- I2C中断服务程序被意外屏蔽
- 中断服务程序中陷入了一些标志位查询的
while(flag != xxx)死循环 - I2C功能系统被意外禁止
更多推荐



所有评论(0)